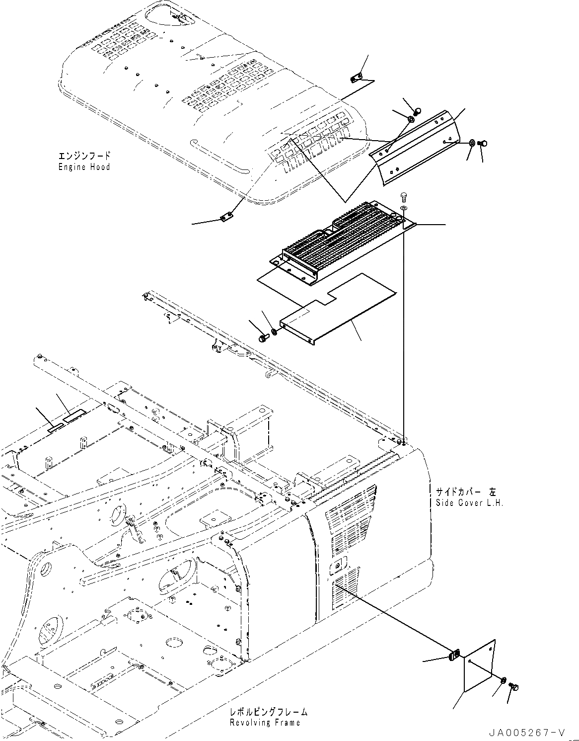
Запчасти Komatsu PC220-8 WEBASTO ОБОГРЕВАТЕЛЬ., КРЫШКА(№877-) WEBASTO ОБОГРЕВАТЕЛЬ.

Схема запчастей Komatsu PC220-8 - WEBASTO ОБОГРЕВАТЕЛЬ., КРЫШКА(№877-) WEBASTO ОБОГРЕВАТЕЛЬ.
14
13
12
11
10
9
8
7
6
5
3
4
4
3
2
2
1
FIT
1:1
100%

Артикул

Название

Примечание

Количество

1

20Y-54-79510

Cover

2

20Y-54-74560

Plate

3

01010-D1230

Bolt

4

01643-71232

Washer

5

20Y-54-79520

Cover

6

01010-D1030

Bolt

7

01643-71032

Washer

8

20Y-54-74441

Cover

9

20Y-54-79540

Cover

10

20Y-54-74570

Plate

11

01010-D1230

Bolt

12

01643-71232

Washer

13

134-98-61650

Plate

14

134-98-61660

Plate

Выбрано товаров: 14