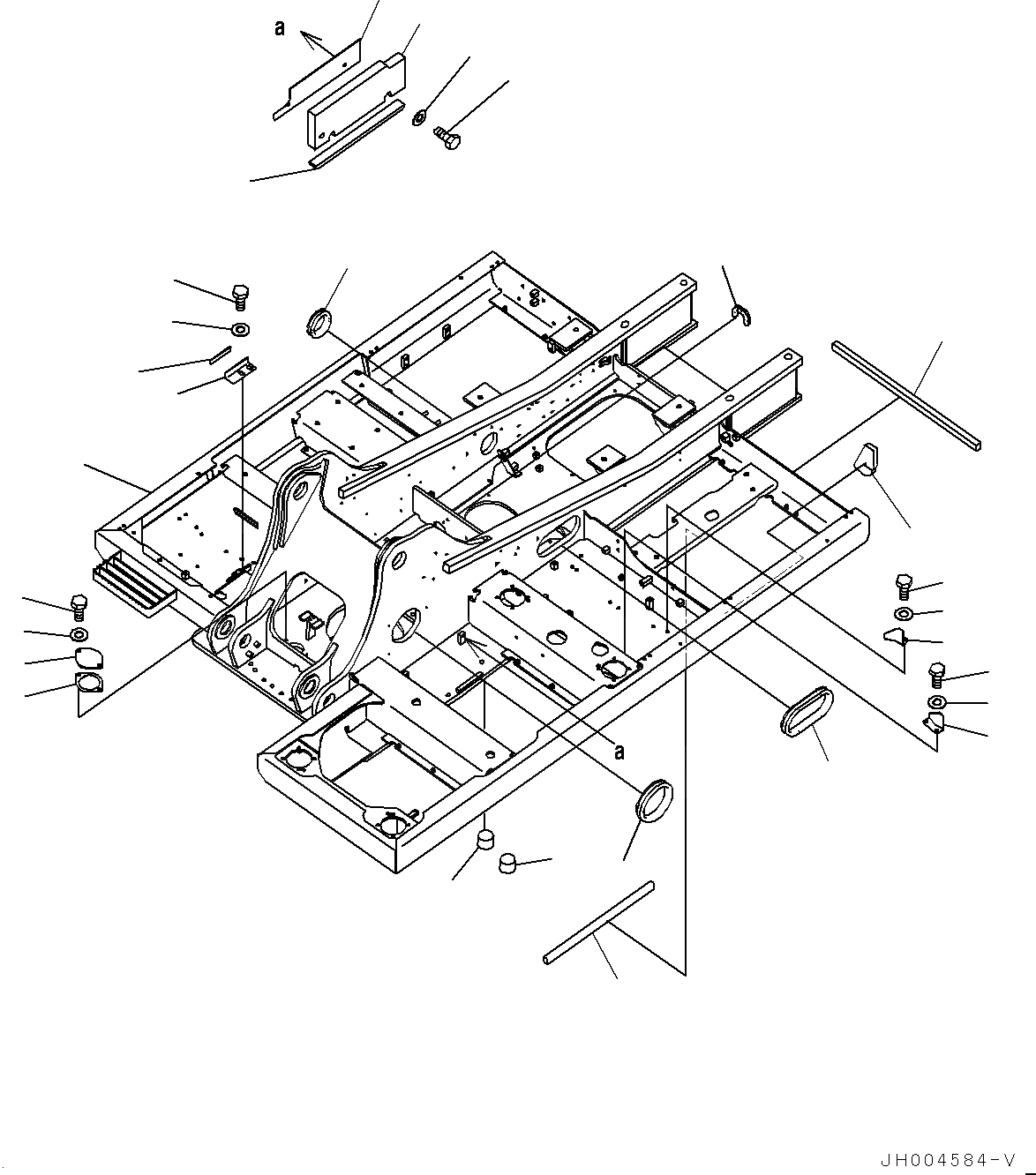
Запчасти Komatsu PC220-8 ОСНОВНАЯ РАМА (№877-) ОСНОВНАЯ РАМА, С WEBASTO ОБОГРЕВАТЕЛЬ.

Схема запчастей Komatsu PC220-8 - ОСНОВНАЯ РАМА (№877-) ОСНОВНАЯ РАМА, С WEBASTO ОБОГРЕВАТЕЛЬ.
23
25
24
3
2
5
4
6
6
11
12
14
13
14
13
26
15
16
17
19
18
22
21
20
7
8
10
9
1
FIT
1:1
100%

Артикул

Название

Примечание

Количество

1

206-46-21501

Frame

2

205-30-71181

Cover

3

205-30-71191

Gasket

4

01010-81230

Bolt

5

01643-31232

Washer

6

20Y-46-41280

Plug

7

206-06-22140

Bracket

8

207-06-51330

Sheet

9

01010-81230

Bolt

10

175-54-34170

Washer

11

20Y-54-61670

Bracket

12

20Y-54-61680

Bracket

13

01010-81230

Bolt

14

01643-31232

Washer

|$14

20Y-46-52441

Cover

15

Cover

16

20Y-46-52180

Sheet

17

20Y-46-52172

Sheet

18

01010-81230

Bolt

19

01643-31232

Washer

20

20Y-46-52150

Seal

21

20Y-46-51162

Sheet

22

20Y-46-52141

Sheet

23

206-46-71170

Grommet

24

206-46-21180

Grommet

25

206-46-21190

Grommet

26

20Y-46-51140

Grommet

Выбрано товаров: 0