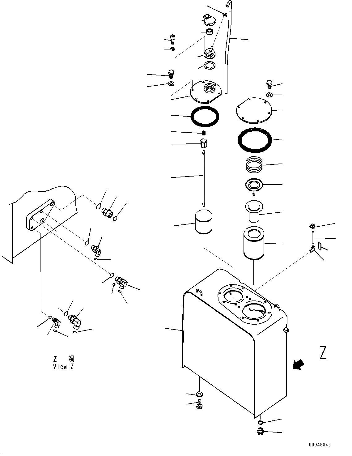
Запчасти Komatsu PC220-8 ГИДР. БАК. (№8-) ГИДР. БАК., -ДОПОЛН. АКТУАТОР ТРУБЫ, АККУМУЛЯТОР

Схема запчастей Komatsu PC220-8 - ГИДР. БАК. (№8-) ГИДР. БАК., -ДОПОЛН. АКТУАТОР ТРУБЫ, АККУМУЛЯТОР
21
12
14
13
18
6
7
8
17
16
15
11
10
9
19
20
45
46
44
43
42
41
40
39
38
37
36
35
34
33
32
31
30
29
28
27
26
25
24
23
22
3
2
2
48
47
1
4
5
FIT
1:1
100%

Артикул

Название

Примечание

Количество

1

20Y-60-41114

Tank

2

203-60-31100

Elbow Assembly

3

203-60-31160

Tube

4

07044-12412

Plug

5

07002-12434

O-ring

6

02781-00628

Union

7

02896-11018

O-ring

8

07002-12434

O-ring

9

02782-10522

Elbow

10

02896-11015

O-ring

11

07002-12434

O-ring

12

02782-10315

Elbow

13

02896-11009

O-ring

14

07002-12034

O-ring

15

02782-10311

Elbow

16

02896-11009

O-ring

17

07002-11423

O-ring

18

20Y-62-45690

Tee

19

02896-11009

O-ring

20

02896-11008

O-ring

21

07002-12034

O-ring

22

207-60-71182

Element, Hydraulic Oil Filter

23

20Y-60-31140

Strainer

24

20Y-60-31131

Valve Assembly

25

20Y-60-21240

Spring

26

22U-60-21232

Cover

27

07000-15195

O-ring

28

01010-81230

Bolt

29

01643-31232

Washer

|$29

20Y-60-31171

Strainer Assembly

30

207-60-61150

Rod Assembly

31

20Y-60-21320

Holder

32

12R-60-11230

Spring

33

22B-60-11160

Strainer

34

20Y-60-41162

Cover

35

07000-15160

O-ring

36

01010-81230

Bolt

37

01643-31232

Washer

38

17A-60-11310

Cap Assembly

39

20Y-60-21470

Element

40

208-60-71180

Filler Neck, Neck

41

20Y-60-21340

Gasket

42

01252-70516

Bolt

43

01601-20513

Washer

44

07285-00155

Clip

45

07270-61411

Tube

46

205-00-73360

Plate, Operating

47

01010-81635

Bolt

48

01643-31645

Washer

Выбрано товаров: 49