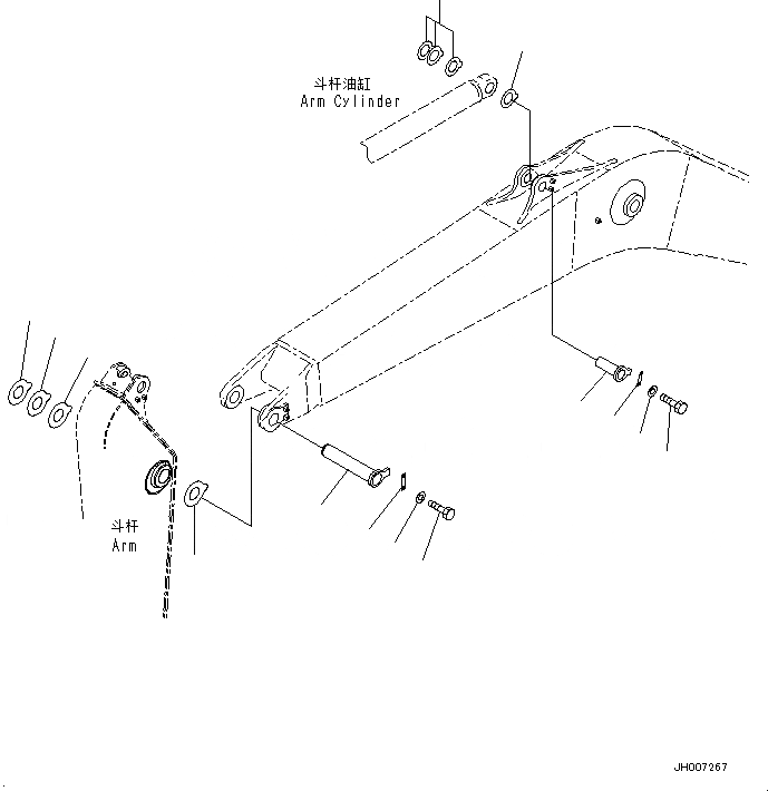
Запчасти Komatsu PC220-8M0 СТРЕЛА (ВЕРХН. ПАЛЕЦ И НИЖН. ПАЛЕЦ) T [РАБОЧЕЕ ОБОРУДОВАНИЕ]

Схема запчастей Komatsu PC220-8M0 - СТРЕЛА (ВЕРХН. ПАЛЕЦ И НИЖН. ПАЛЕЦ) T [РАБОЧЕЕ ОБОРУДОВАНИЕ]
8
6
11
10
7
1
13
5
12
4
2
9
3
4
FIT
1:1
100%

Артикул

Название

Примечание

Количество

1

206-70-D3780

PIN

2

22U-70-31340

SPACER, T=2.5MM

3

22U-70-31350

SPACER, T=3.0MM

4

22U-70-31280

SPACER, T=2.0MM

5

205-70-71312

PLATE

6

01010-81235

BOLT

7

01643-31232

WASHER

8

206-70-51170

PIN

9

20Y-70-11340

SPACER, T=0.8MM

10

205-70-51530

SPACER, T=1.5MM

11

205-70-66580

PLATE

12

01010-81230

BOLT

13

01643-31232

WASHER

Выбрано товаров: 13