Запчасти Komatsu PC220-8M0 ГИДР. БАК. H [ГИДРАВЛИКА]

Схема запчастей Komatsu PC220-8M0 - ГИДР. БАК. H [ГИДРАВЛИКА]
45
46
44
47
40
24
39
34
37
38
48
32
33
30
31
28
27
26
50
36
35
25
22
23
21
20
19
18
28
8
6
7
14
12
13
13
14
12
11
9
10
16
15
17
1
43
42
49
5
2
2
3
41
4
FIT
1:1
100%

Артикул

Название

Примечание

Количество

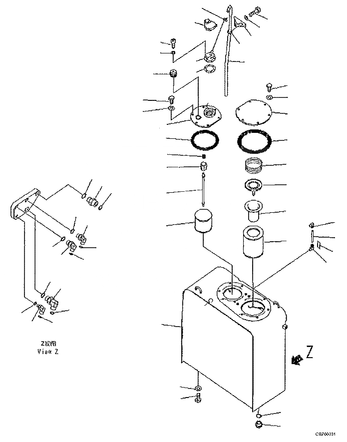
1

20Y-60-42111

TANK

2

203-60-31100

ELBOW ASSEMBLY

3

203-60-31160

TUBE

4

07044-12412

PLUG

5

07002-12434

O-RING

6

02781-00628

UNION

7

02896-11018

O-RING

8

07002-12434

O-RING

9

02782-10522

ELBOW

10

02896-11015

O-RING

11

07002-12434

O-RING

12

02782-10315

ELBOW

13

02896-11009

O-RING

14

07002-12034

O-RING

15

02782-10311

ELBOW

16

02896-11009

O-RING

17

07002-11423

O-RING

18

207-60-71183

ELEMENT

19

20Y-60-31140

STRAINER

20

20Y-60-31450

VALVE ASSEMBLY

21

20Y-60-21240

SPRING

22

207-60-77131

COVER

23

07000-15195

O-RING

24

01010-81225

BOLT

25

01643-31232

WASHER

-

20Y-60-31171

STRAINER ASSEMBLY

26

207-60-61150

ROD ASSEMBLY

27

20Y-60-21320

HOLDER

28

12R-60-11230

SPRING

29

22B-60-11160

STRAINER

30

20Y-60-42143

COVER

31

07000-15160

O-RING

32

01010-81225

BOLT

33

01643-31232

WASHER

34

208-60-41211

CAP ASSEMBLY

35

20Y-60-42211

FILLER NECK

|$37

20Y-60-42210

FILLER NECK

36

20Y-60-21340

GASKET

37

01252-70516

BOLT

38

01601-20513

WASHER

Выбрано товаров: 40