Качественные детали и логистика
Оригинальные и аналоговые запчасти с доставкой по России, Казахстану и Беларуси
©2022 PartSell ООО "Система" ИНН 2463123282 ОГРН 1212400004838
Центральный офис: г. Красноярск, Академика Киренского, д.87, пом.4
Телефон: 8 (800) 777-65-74 Email: zakaz@partsell.ru
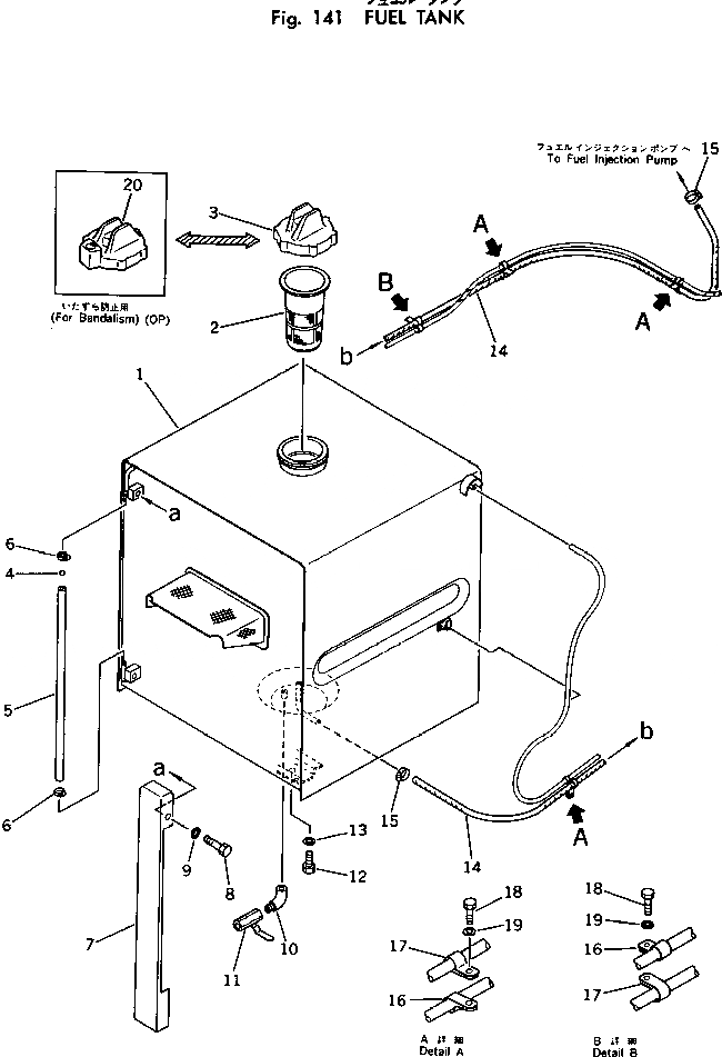
ТОПЛИВН. БАК.
№
Артикул
Название
Примечание
Количество
|$0
205-04-00013
FUEL TANK ASS'Y
1
TANK
2
07056-18416
STRAINER
3
07050-21200
CAP
4
201-04-21160
BALL,FLOAT
5
205-04-62220
TUBE
6
07281-00197
CLAMP
7
205-04-62231
COVER
8
01010-31225
BOLT
9
01643-31232
WASHER
10
07323-30200
ELBOW
11
07700-40240
VALVE
12
01010-51635
13
01643-31645
14
205-04-62240
HOSE
15
16
08036-10814
CLIP
17
08036-01814
18
01010-51025
19
01643-31032
20
07091-01200
CAP,(FOR VANDALISM PROTECTION)
Выбрано товаров: 0