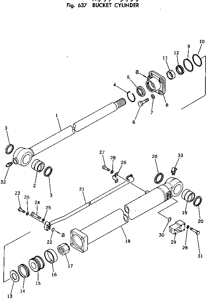
Запчасти Komatsu PC220LC-2 ЦИЛИНДР КОВША УПРАВЛ-Е РАБОЧИМ ОБОРУДОВАНИЕМ

Схема запчастей Komatsu PC220LC-2 - ЦИЛИНДР КОВША УПРАВЛ-Е РАБОЧИМ ОБОРУДОВАНИЕМ
FIT
1:1
100%

Артикул

Название

Примечание

Количество

|$0

206-63-75101

CYLINDER ASS'Y

1

206-63-75121

ROD,PISTON

2

707-76-80020

BUSHING

3

205-70-62140

SEAL,DUST

4

07179-00103

RING,SNAP

5

195-63-92190

SEAL,DUST

6

01010-83095

BOLT

7

01601-23075

WASHER,SPRING

8

203-63-62330

HEAD,CYLINDER

9

07146-02126

RING,BACK-UP

10

07000-12125

O-RING

11

07177-08030

BUSHING

12

707-51-80211

PACKING,ROD

13

707-41-10120

RETAINER

14

707-44-13080

RING,PISTON

15

205-63-55171

PISTON

16

07155-01330

RING,WEAR

17

07165-15860

NUT,\

18

206-63-75141

CYLINDER

19

707-76-80010

BUSHING

20

07145-00080

SEAL,DUST

21

206-62-44810

TUBE

22

07000-13030

O-RING

23

01010-50845

BOLT

24

01010-50855

BOLT

25

01643-30823

WASHER

26

07282-02793

CLAMP

27

01010-51020

BOLT

28

01643-31032

WASHER

29

206-62-44830

BLOCK

30

07000-13035

O-RING

31

01010-51080

BOLT

32

07020-00000

FITTING,GREASE

33

07020-00900

FITTING,GREASE

Выбрано товаров: 34