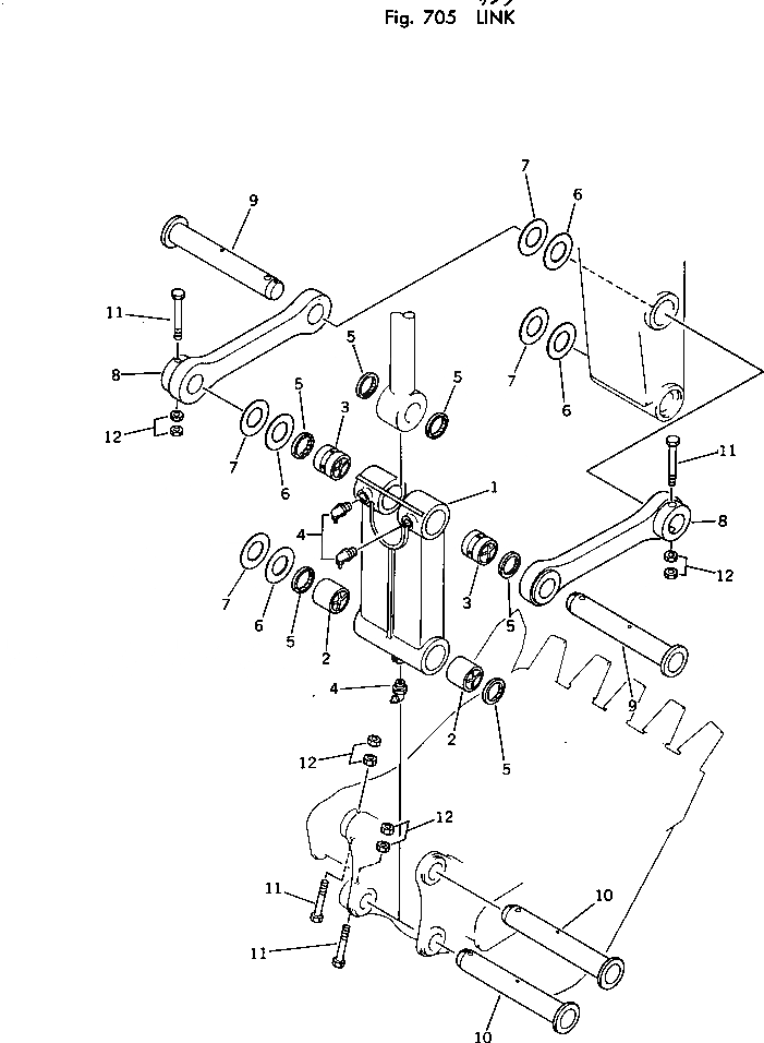
Запчасти Komatsu PC220LC-2 СОЕДИНИТЕЛЬН. ЗВЕНО РАБОЧЕЕ ОБОРУДОВАНИЕ

Схема запчастей Komatsu PC220LC-2 - СОЕДИНИТЕЛЬН. ЗВЕНО РАБОЧЕЕ ОБОРУДОВАНИЕ
FIT
1:1
100%

Артикул

Название

Примечание

Количество

|$0

205-70-00023

LINK ASS'Y

1

LINK

2

205-70-67150

BUSHING

3

205-70-67550

BUSHING

4

07020-00675

FITTING,GREASE

5

205-70-62140

SEAL,DUST

6

205-70-51520

SPACER, 1.0MM

7

205-70-51530

SPACER, 1.5MM

8

205-70-67510

LINK

9

205-70-67530

PIN

10

205-70-67540

PIN

11

205-70-67170

BOLT

12

01580-12016

NUT

Выбрано товаров: 13