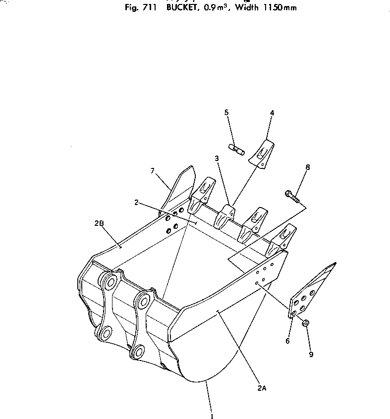
Запчасти Komatsu PC220LC-2 КОВШ¤ .9M¤ MM РАБОЧЕЕ ОБОРУДОВАНИЕ

Схема запчастей Komatsu PC220LC-2 - КОВШ¤ .9M¤ MM РАБОЧЕЕ ОБОРУДОВАНИЕ
FIT
1:1
100%

Артикул

Название

Примечание

Количество

1

206-70-48512

BUCKET

2

206-70-48531

PLATE (WELDED)

2A

206-70-48540

PLATE,L.H. (WELDED)

2B

206-70-48550

PLATE,R.H. (WELDED)

3

206-70-48521

ADAPTER (WELDED)

4

207-70-14151

TOOTH

5

09244-02516

PIN

6

205-70-68171

CUTTER,L.H.

7

205-70-68181

CUTTER,R.H.

8

176-32-11210

BOLT, SHOE

9

01803-02430

NUT

Выбрано товаров: 11