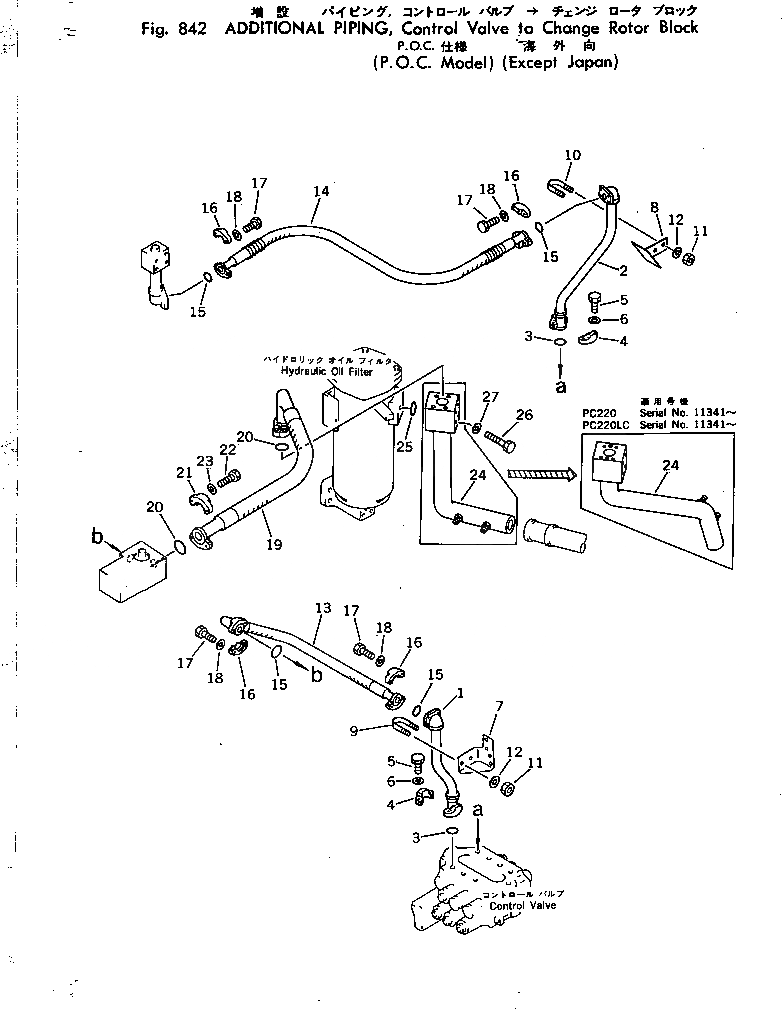
Запчасти Komatsu PC220LC-2 ДОПОЛН.P.¤УПРАВЛЯЮЩ. КЛАПАН - CHANGE ROTOR БЛОК(P.O.C.MODEL)(E.J. ОПЦИОННЫЕ КОМПОНЕНТЫ (/)

Схема запчастей Komatsu PC220LC-2 - ДОПОЛН.P.¤УПРАВЛЯЮЩ. КЛАПАН - CHANGE ROTOR БЛОК(P.O.C.MODEL)(E.J. ОПЦИОННЫЕ КОМПОНЕНТЫ (/)
FIT
1:1
100%

Артикул

Название

Примечание

Количество

1

205-970-5520

TUBE

2

205-970-5280

TUBE

3

07000-13032

O-RING

4

07371-31049

FLANGE,SPLIT

5

07372-21035

BOLT

6

01643-51032

WASHER

7

205-970-5480

BRACKET

8

205-970-5320

BRACKET

9

07283-23442

CLIP

10

07283-23450

CLIP

11

01599-01011

NUT

12

01643-31032

WASHER

13

07126-01009

HOSE

14

07127-01013

HOSE

15

07000-13032

O-RING

16

07371-31049

FLANGE,SPLIT

17

07372-21035

BOLT

18

01643-51032

WASHER

19

07118-02010

HOSE

20

07000-12060

O-RING

21

07371-32076

FLANGE,SPLIT

22

07372-21240

BOLT

23

01643-31232

WASHER

24

205-970-5242

TUBE

24

205-970-5240

TUBE

25

07000-12060

O-RING

26

01011-51200

BOLT

26

01011-51200

BOLT

27

01643-31232

WASHER

27

01643-31232

WASHER

Выбрано товаров: 0