Запчасти Komatsu PC220LC-2 ДОПОЛН. ГИДРОЛИНИЯ¤ НАВЕСН. ОБОРУД (/) ОПЦИОННЫЕ КОМПОНЕНТЫ (/)

Схема запчастей Komatsu PC220LC-2 - ДОПОЛН. ГИДРОЛИНИЯ¤ НАВЕСН. ОБОРУД (/) ОПЦИОННЫЕ КОМПОНЕНТЫ (/)
FIT
1:1
100%

Артикул

Название

Примечание

Количество

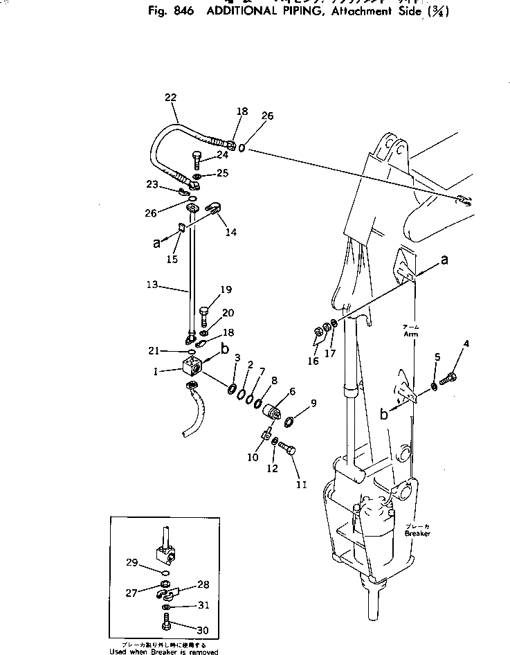
1

205-970-5120

BODY

2

07000-12065

O-RING,BACK-UP

3

07001-02065

RING

4

01010-61230

BOLT

5

01643-31232

WASHER

6

205-970-2260

ROTOR

7

07000-12060

O-RING

8

07001-02060

RING,BACK-UP

9

04065-07025

RING,SNAP

10

202-970-2210

PIN

11

01010-51230

BOLT

12

01643-31232

WASHER

13

206-970-2210

TUBE

14

205-970-1680

CLIP

15

205-970-1690

SEAT

16

01582-11411

NUT

17

01643-31445

WASHER

18

07371-32076

FLANGE,SPLIT

19

07372-21240

BOLT

20

01643-51232

WASHER

21

07000-12060

O-RING

22

07087-22022

HOSE

23

07371-32076

FLANGE,SPLIT

24

07372-21240

BOLT

25

01643-51232

WASHER

26

07000-12060

O-RING

27

07378-12000

HEAD,SLEEVE

28

07371-32076

FLANGE,SPLIT

29

07000-12060

O-RING

30

07372-21240

BOLT

31

01643-51232

WASHER

Выбрано товаров: 31