Запчасти Komatsu PC220LC-2 TWO ЧАСТИ СТРЕЛА (/) ОПЦИОННЫЕ КОМПОНЕНТЫ (/)

Схема запчастей Komatsu PC220LC-2 - TWO ЧАСТИ СТРЕЛА (/) ОПЦИОННЫЕ КОМПОНЕНТЫ (/)
FIT
1:1
100%

Артикул

Название

Примечание

Количество

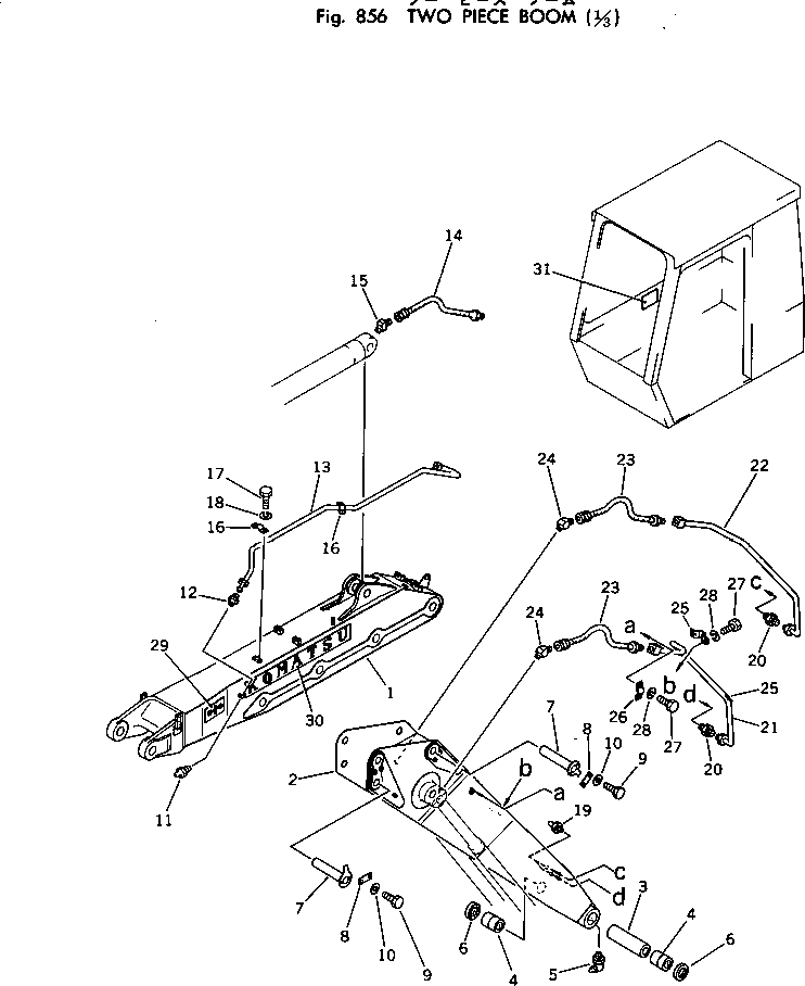
1

206-946-4530

BOOM

2

206-946-4510

BOOM

3

206-70-45580

SPACER

4

206-70-45570

BUSHING

5

07020-00900

FITTING,GREASE

6

07145-00100

SEAL,DUST

7

205-946-6550

PIN

8

205-70-66580

PLATE

9

01010-51230

BOLT

10

01643-31232

WASHER

11

07020-00000

FITTING,GREASE

12

07213-50813

CONNECTOR

13

205-946-6730

TUBE

14

205-70-51360

HOSE, 540MM

15

205-70-65780

ELBOW

16

205-70-51240

CLIP

17

01010-50612

BOLT

18

01602-20619

WASHER,SPRING

19

07020-00000

FITTING,GREASE

20

07213-50813

CONNECTOR

21

206-946-4650

TUBE

22

206-946-4640

TUBE

23

205-70-51360

HOSE, 540MM

24

205-70-65780

ELBOW

25

21K-70-11310

CLIP

26

205-70-51420

CLIP

27

01010-50612

BOLT

28

01602-20619

WASHER,SPRING

29

205-00-63280

PLATE, MARK

30

205-00-63171

PLATE, MARK

31

205-946-6260

PLATE, CAUTION,(ENGLISH)

31

205-946-6290

PLATE, CAUTION,(SPANISH)

31

205-946-6310

PLATE, CAUTION,(FRENCH)

Выбрано товаров: 33