Качественные детали и логистика
Оригинальные и аналоговые запчасти с доставкой по России, Казахстану и Беларуси
©2022 PartSell ООО "Система" ИНН 2463123282 ОГРН 1212400004838
Центральный офис: г. Красноярск, Академика Киренского, д.87, пом.4
Телефон: 8 (800) 777-65-74 Email: zakaz@partsell.ru
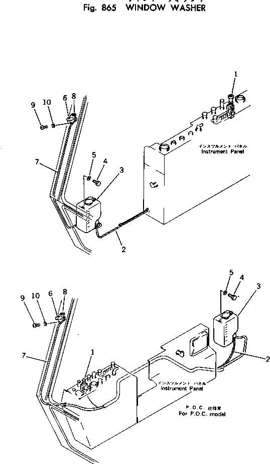
ОМЫВАТЕЛЬ СТЕКЛА
№
Артикул
Название
Примечание
Количество
1
205-06-61160
SWITCH
2
205-06-62680
WIRE
3
206-06-15230
TANK
4
01010-50616
BOLT
5
01643-30623
WASHER
6
205-06-61220
NOZZLE ASS'Y
7
205-06-61230
HOSE
205-06-64170
HOSE,(P.O.C. MODEL) (EXCEPT JAPAN)
8
205-06-61240
PLATE
9
01220-40512
SCREW
10
01601-20513
WASHER,SPRING
Выбрано товаров: 0