Запчасти Komatsu PC220LC-2 ЗАЩИТА ОТ ВАНДАЛИЗМА¤ НИЖН. КРЫШКА ОПЦИОННЫЕ КОМПОНЕНТЫ (/)

Схема запчастей Komatsu PC220LC-2 - ЗАЩИТА ОТ ВАНДАЛИЗМА¤ НИЖН. КРЫШКА ОПЦИОННЫЕ КОМПОНЕНТЫ (/)
FIT
1:1
100%

Артикул

Название

Примечание

Количество

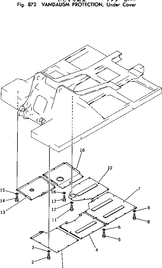
1

205-54-67510

COVER

2

01010-51230

BOLT

3

01643-31232

WASHER

4

205-54-67520

COVER

5

01010-51230

BOLT

6

01643-31232

WASHER

7

205-54-67530

COVER

8

01010-51230

BOLT

9

01643-31232

WASHER

10

205-54-67560

COVER

11

01010-51230

BOLT

12

01643-31232

WASHER

13

205-54-67540

COVER

14

01010-51230

BOLT

15

01643-31232

WASHER

16

205-54-67550

COVER

17

01010-51230

BOLT

18

01643-31232

WASHER

Выбрано товаров: 18