Запчасти Komatsu PC220LC-2 CAR ЛИНИЯ ОХЛАЖДЕНИЯ (/) ОПЦИОННЫЕ КОМПОНЕНТЫ (/)

Схема запчастей Komatsu PC220LC-2 - CAR ЛИНИЯ ОХЛАЖДЕНИЯ (/) ОПЦИОННЫЕ КОМПОНЕНТЫ (/)
FIT
1:1
100%

Артикул

Название

Примечание

Количество

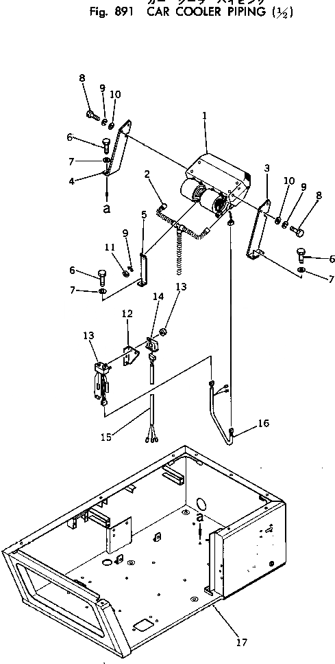
1

205-981-5110

COOLING UNIT

2

205-981-5170

HOSE,DRAIN

3

205-978-6720

BRACKET,L.H.

3

206-988-2140

BRACKET,L.H.

4

205-978-6730

BRACKET,R.H.

4

206-988-2150

BRACKET,R.H.

5

205-978-6740

BRACKET

5

205-981-5350

BRACKET

6

01010-51230

BOLT

7

01643-31232

WASHER

8

01010-50820

BOLT

9

01643-30823

WASHER

9

01602-20825

WASHER,SPRING

10

01643-30823

WASHER

11

01580-00806

NUT

12

205-978-6170

BRACKET

13

205-981-5150

PANEL ASS'Y

14

205-981-5160

RELAY

15

203-981-2150

WIRE ASS'Y

16

203-981-2160

WIRE ASS'Y

17

205-978-6590

FRAME,FLOOR

Выбрано товаров: 21