Запчасти Komatsu PC220LC-2 ГУСЕНИЧНАЯ РАМА(№-) ХОДОВАЯ

Схема запчастей Komatsu PC220LC-2 - ГУСЕНИЧНАЯ РАМА(№-) ХОДОВАЯ
FIT
1:1
100%

Артикул

Название

Примечание

Количество

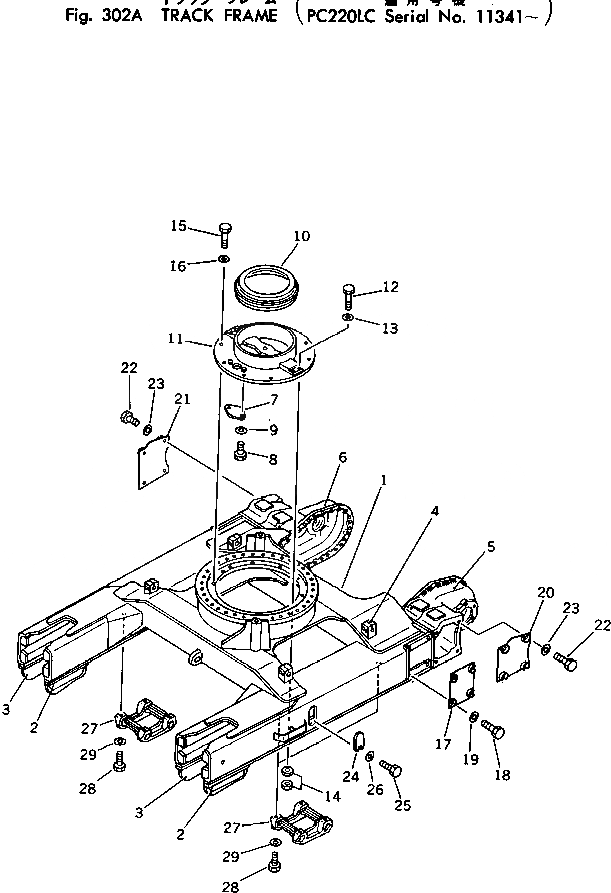
1

206-30-43131

FRAME

2

205-30-62541

GUARD (WELDED)

3

205-30-62551

GUARD (WELDED)

4

205-30-61950

SUPPORT (WELDED)

5

205-30-61931

CASE,L.H. (WELDED)

6

205-30-61941

CASE,R.H. (WELDED)

7

205-30-67650

COVER

8

01010-51225

BOLT

9

01643-31232

WASHER

10

205-30-67610

SEAL

11

206-30-43150

COVER

12

01016-51250

BOLT

13

01643-31232

WASHER

14

01580-11210

NUT

15

01016-51250

BOLT

16

01643-31232

WASHER

17

205-30-61822

COVER

18

01010-51640

BOLT

19

01643-31645

WASHER

20

205-30-61832

COVER,L.H.

21

205-30-61841

COVER,R.H.

22

01010-51640

BOLT

23

01643-31645

WASHER

24

205-30-67622

COVER

25

01010-51225

BOLT

26

01643-31232

WASHER

27

205-30-62531

GUARD

28

01010-52045

BOLT

29

01643-32060

WASHER

Выбрано товаров: 29