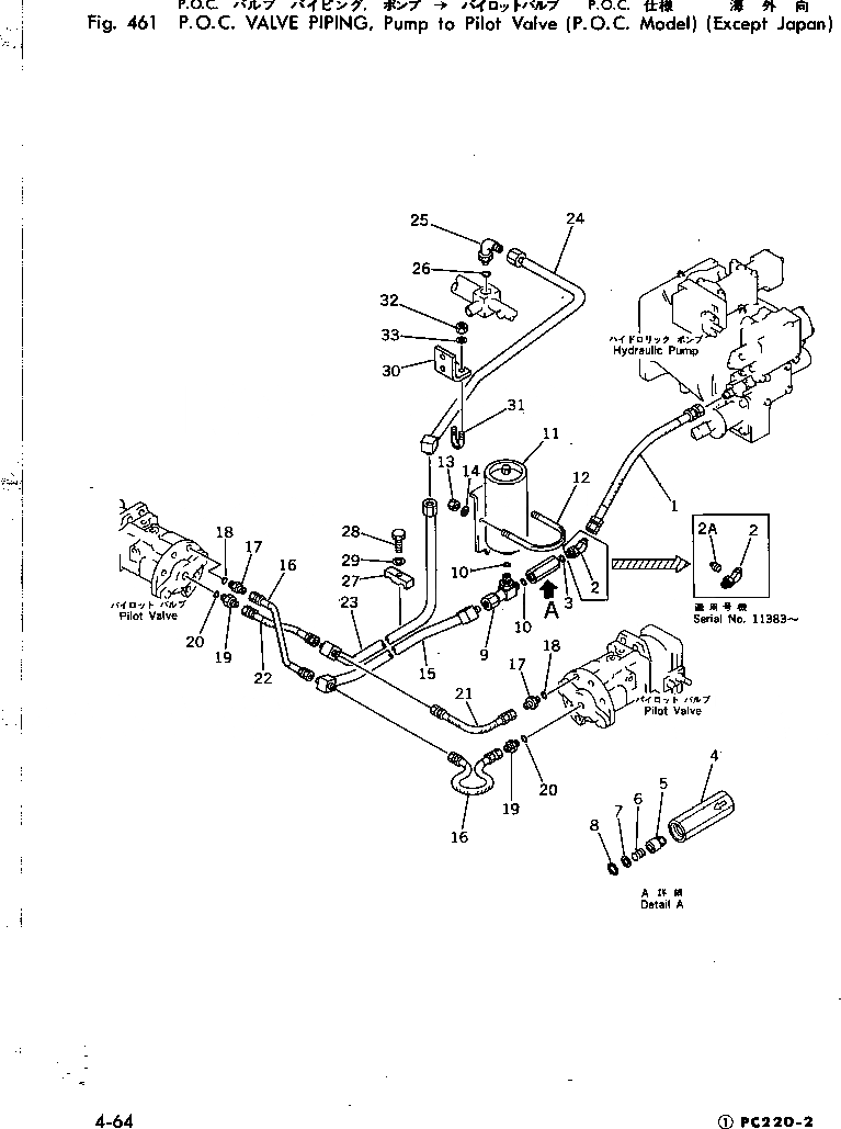
Запчасти Komatsu PC220LC-2 P.O.C. КЛАПАН ТРУБЫ¤ НАСОС - ГЛАВН. КЛАПАН (P.O.C. MODEL) (КРОМЕ ЯПОН.) ПОВОРОТН. И СИСТЕМА УПРАВЛЕНИЯS

Схема запчастей Komatsu PC220LC-2 - P.O.C. КЛАПАН ТРУБЫ¤ НАСОС - ГЛАВН. КЛАПАН (P.O.C. MODEL)     (КРОМЕ ЯПОН.) ПОВОРОТН. И СИСТЕМА УПРАВЛЕНИЯS
FIT
1:1
100%

Артикул

Название

Примечание

Количество

1

07102-20507

HOSE

2

206-62-43340

ELBOW

2

11T-61-12110

ELBOW

2A

07042-30108

PLUG

3

07002-02034

O-RING

|$5

205-60-64300

CHECK VALVE ASS'Y

4

205-60-64290

BODY

5

205-60-51390

POPPET

6

205-60-51410

SPRING

7

205-60-51420

SEAT

8

04065-01410

RING,SNAP

9

205-62-65350

TEE

10

07002-02034

O-RING

11

205-60-51190

ACCUMULATOR

12

07283-21185

CLIP

13

01599-01214

NUT

14

01643-31232

WASHER

15

205-62-65360

TUBE

16

07102-20303

HOSE

17

205-62-55270

NIPPLE

18

07002-01423

O-RING

19

07230-10315

UNION

20

07002-02034

O-RING

21

07102-20303

HOSE

22

205-62-65370

HOSE

23

205-62-65380

TUBE

24

205-62-65390

TUBE

25

07235-10522

ELBOW

26

07002-02434

O-RING

27

175-61-18410

CLAMP

27

205-62-55690

CLAMP

28

01010-51055

BOLT

29

01643-31032

WASHER

30

205-62-65450

BRACKET

31

07283-22236

CLIP

32

01599-01011

NUT

33

01643-31032

WASHER

Выбрано товаров: 37