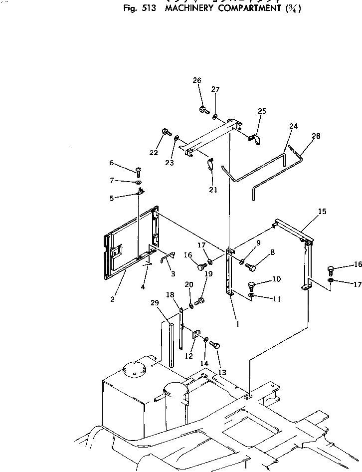
Запчасти Komatsu PC220LC-2 MACHINERY ОБСТАНОВКА (/) ОСНОВНАЯ РАМА И КАБИНА

Схема запчастей Komatsu PC220LC-2 - MACHINERY ОБСТАНОВКА (/) ОСНОВНАЯ РАМА И КАБИНА
FIT
1:1
100%

Артикул

Название

Примечание

Количество

1

205-54-65342

FRAME

2

205-54-65331

DOOR

|$2

205-54-63730

LOCK ASS'Y

3

205-54-64140

BAR

4

04050-13018

PIN,COTTER

5

20B-54-12210

SPRING

6

01220-40408

SCREW

7

01641-20405

WASHER

8

01010-51225

BOLT

9

01643-31232

WASHER

10

01010-51230

BOLT

11

01643-31232

WASHER

12

205-54-65920

BRACKET

13

01010-51025

BOLT

14

01643-31032

WASHER

15

205-54-65352

FRAME

16

01010-51230

BOLT

17

01643-31232

WASHER

18

205-54-65370

FRAME

19

01010-51230

BOLT

20

01643-31232

WASHER

21

205-54-65671

BRACKET

22

01010-51230

BOLT

23

01643-31232

WASHER

24

205-54-65562

SPRING

25

205-54-65661

BRACKET

26

01010-51230

BOLT

27

01643-31232

WASHER

28

205-54-65552

SPRING

29

205-54-65482

SHEET

Выбрано товаров: 30