Запчасти Komatsu PC220LC-3 P.P.C. КЛАПАН ТРУБЫ (/) (ДЛЯ WRIST УПРАВЛ-Е) (АВТОМ. ЗАМЕДЛЕНИЕ ОБОРОТОВ¤ ПОВОРОТН. МЕХАНИЧ. ТОРМОЗ.)(№-9) ПОВОРОТН. И СИСТЕМА УПРАВЛЕНИЯ

Схема запчастей Komatsu PC220LC-3 - P.P.C. КЛАПАН ТРУБЫ (/) (ДЛЯ WRIST УПРАВЛ-Е) (АВТОМ. ЗАМЕДЛЕНИЕ ОБОРОТОВ¤ ПОВОРОТН. МЕХАНИЧ. ТОРМОЗ.)(№-9) ПОВОРОТН. И СИСТЕМА УПРАВЛЕНИЯ
FIT
1:1
100%

Артикул

Название

Примечание

Количество

|1

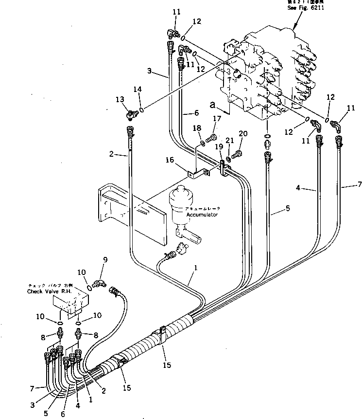
205-62-74180

HOSE ASS'Y

1

205-62-74520

HOSE,(RED)

2

205-62-71740

HOSE

3

205-62-71810

HOSE,(YELLOW)

4

205-62-71790

HOSE,(BLACK)

5

205-62-74530

HOSE,(BLUE)

6

205-62-71740

HOSE,(GREEN)

7

205-62-74530

HOSE,(WHITE)

8

07230-10210

UNION

9

07235-10210

ELBOW

10

07002-01423

O-RING

11

07235-10210

ELBOW

12

07002-01423

O-RING

13

208-26-11611

TEE

14

07002-01423

O-RING

15

21T-06-11950

CLIP

16

205-62-71890

BRACKET

17

01010-51225

BOLT

18

01643-31232

WASHER

19

21T-06-11950

CLIP

20

01010-51225

BOLT

21

01643-31232

WASHER

Выбрано товаров: 22