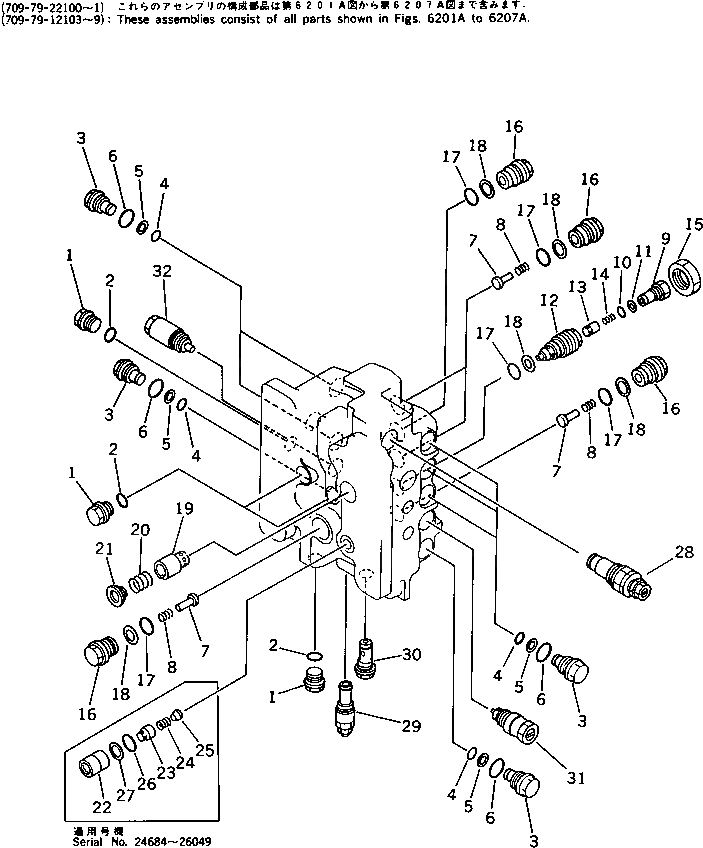
Запчасти Komatsu PC220LC-3 УПРАВЛЯЮЩ. КЛАПАН (/7) (ДЛЯ УДЛИНН. РЫЧАГ УПРАВЛ-Е)(№-) УПРАВЛ-Е РАБОЧИМ ОБОРУДОВАНИЕМ

Схема запчастей Komatsu PC220LC-3 - УПРАВЛЯЮЩ. КЛАПАН (/7) (ДЛЯ УДЛИНН. РЫЧАГ УПРАВЛ-Е)(№-) УПРАВЛ-Е РАБОЧИМ ОБОРУДОВАНИЕМ
FIT
1:1
100%

Артикул

Название

Примечание

Количество

|1

709-79-22101

CONTROL VALVE ASS'Y

|1

709-79-22100

CONTROL VALVE ASS'Y

|1

709-79-12109

CONTROL VALVE ASS'Y

|1

709-79-12108

CONTROL VALVE ASS'Y

|1

709-79-12107

CONTROL VALVE ASS'Y

|1

709-79-12106

CONTROL VALVE ASS'Y

|1

709-79-12105

CONTROL VALVE ASS'Y

|1

709-79-12104

CONTROL VALVE ASS'Y

|1

709-79-12103

CONTROL VALVE ASS'Y

|1

709-75-92105

VALVE ASS'Y

|1

709-75-92104

VALVE ASS'Y

|1

709-75-00020

VALVE ASS'Y

|1

709-75-92103

VALVE ASS'Y

1

700-22-11370

PLUG

2

07002-12434

O-RING

3

700-84-13960

PLUG

4

700-22-11410

O-RING

5

700-80-64220

RING,BACK-UP

6

07002-03034

O-RING

7

709-74-92810

VALVE,CHECK

|7

709-75-92210

VALVE,CHECK

8

709-75-92220

SPRING

9

709-74-92450

PLUG

10

07000-12010

O-RING

11

07001-02010

RING,BACK-UP

12

709-74-92440

PLUG

13

706-73-70140

VALVE,CHECK

14

706-73-70150

SPRING

15

709-74-92460

NUT

16

709-74-92820

PLUG

|16

709-75-92230

PLUG

17

700-93-11320

O-RING

18

700-93-11330

RING,BACK-UP

19

709-74-92281

VALVE

|19

709-74-92280

VALVE

20

709-74-92290

SPRING

21

709-74-92310

SEAT

|22

709-70-91400

VALVE ASS'Y

22

709-74-92320

SLEEVE

23

709-70-91410

VALVE

24

709-70-91420

SPRING

25

709-70-91430

SEAT

26

07000-12021

O-RING

27

07001-02021

RING,BACK-UP

28

709-70-51200

RELIEF VALVE ASS'Y

29

709-70-55103

RELIEF VALVE ASS'Y

|29

709-70-55102

RELIEF VALVE ASS'Y

|29

709-70-55101

RELIEF VALVE ASS'Y

|29

709-70-55100

RELIEF VALVE ASS'Y

30

709-70-91300

ORIFICE ASS'Y

31

709-70-62200

VALVE ASS'Y

32

709-70-61601

VALVE ASS'Y,SUCTION AND SAFETY

|32

709-70-61600

VALVE ASS'Y,SUCTION AND SAFETY

|32

709-70-61200

VALVE ASS'Y,SUCTION AND SAFETY

Выбрано товаров: 54