Запчасти Komatsu PC220LC-3 УПРАВЛЯЮЩ. КЛАПАН (/7) (ДЛЯ УДЛИНН. РЫЧАГ УПРАВЛ-Е)(№-) УПРАВЛ-Е РАБОЧИМ ОБОРУДОВАНИЕМ

Схема запчастей Komatsu PC220LC-3 - УПРАВЛЯЮЩ. КЛАПАН (/7) (ДЛЯ УДЛИНН. РЫЧАГ УПРАВЛ-Е)(№-) УПРАВЛ-Е РАБОЧИМ ОБОРУДОВАНИЕМ
FIT
1:1
100%

Артикул

Название

Примечание

Количество

|1

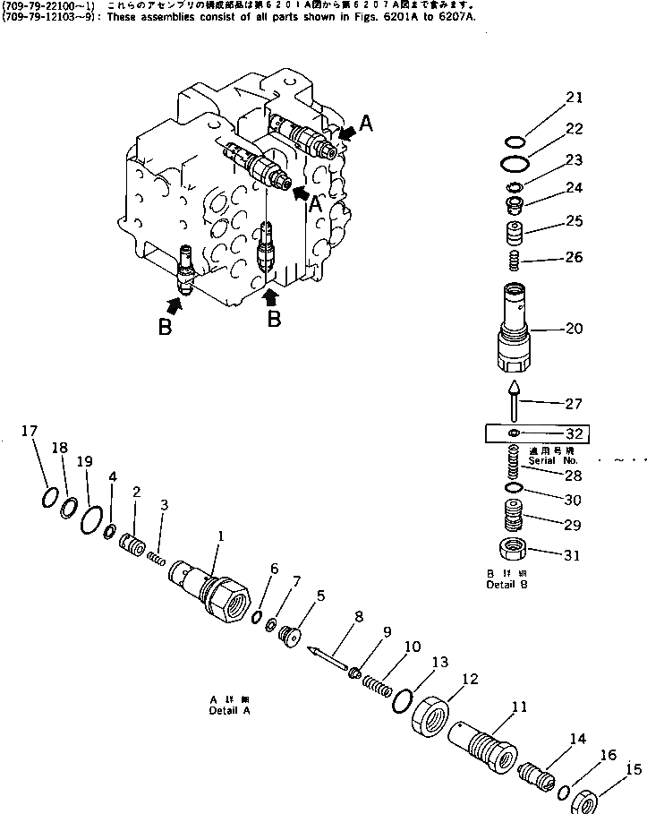
709-79-22101

CONTROL VALVE ASS'Y

|1

709-79-22100

CONTROL VALVE ASS'Y

|1

709-79-12109

CONTROL VALVE ASS'Y

|1

709-79-12108

CONTROL VALVE ASS'Y

|1

709-79-12107

CONTROL VALVE ASS'Y

|1

709-79-12106

CONTROL VALVE ASS'Y

|1

709-79-12105

CONTROL VALVE ASS'Y

|1

709-79-12104

CONTROL VALVE ASS'Y

|1

709-79-12103

CONTROL VALVE ASS'Y

|1

709-70-51200

RELIEF VALVE ASS'Y

1

SLEEVE

2

VALVE

3

700-80-51390

SPRING

4

700-80-51350

RING,SNAP

5

700-80-51340

SEAT

6

07000-22012

O-RING

7

07001-02012

RING,BACK-UP

8

700-80-61190

POPPET

9

709-20-51260

VALVE

10

709-20-51231

SPRING

11

700-80-51360

HOLDER

12

07239-12410

NUT

13

07002-02434

O-RING

14

700-80-51630

SCREW

15

01582-11411

NUT

16

07000-02011

O-RING

17

700-13-31161

O-RING

18

700-80-51190

RING,BACK-UP

19

07002-03334

O-RING

|20

709-70-55103

RELIEF VALVE ASS'Y

|20

709-70-55102

RELIEF VALVE ASS'Y

|20

709-70-55101

RELIEF VALVE ASS'Y

|20

709-70-55100

RELIEF VALVE ASS'Y

20

SLEEVE

|20

SLEEVE

|20

SLEEVE

|20

SLEEVE

21

700-22-11410

O-RING

22

07002-02434

O-RING

23

700-20-51550

RING,SNAP

24

700-20-51540

RETAINER

25

VALVE

|25

VALVE

26

709-70-51210

SPRING

|26

700-20-51610

SPRING

27

709-70-51420

POPPET

|27

709-70-51220

POPPET

|27

700-80-61190

POPPET

28

709-20-51580

SPRING

|28

709-70-51310

SPRING

|28

700-20-51580

SPRING

29

700-20-51340

SCREW

|29

709-70-51320

SCREW

|29

700-20-51340

SCREW

30

07000-02011

O-RING

31

01582-11411

NUT

32

700-80-51240

SPACER

Выбрано товаров: 57