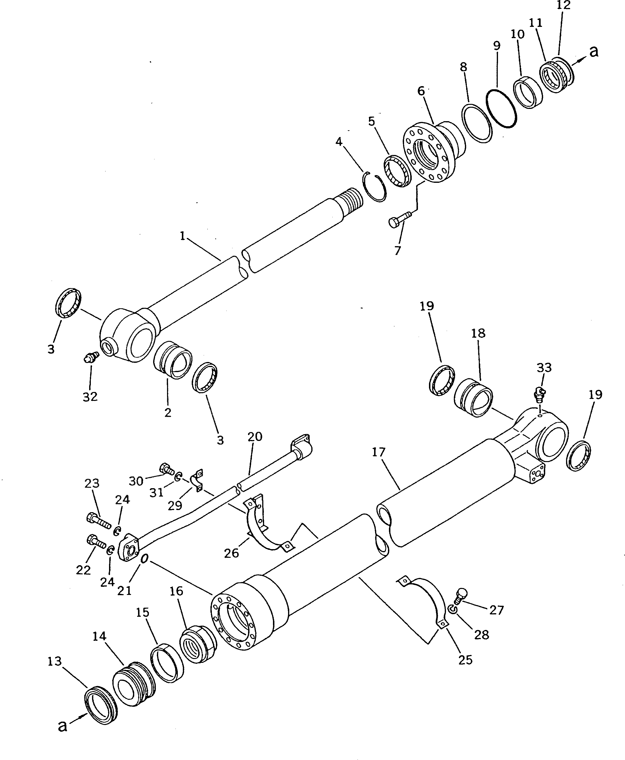
Запчасти Komatsu PC220LC-3 ЦИЛИНДР КОВША(№78-) УПРАВЛ-Е РАБОЧИМ ОБОРУДОВАНИЕМ

Схема запчастей Komatsu PC220LC-3 - ЦИЛИНДР КОВША(№78-) УПРАВЛ-Е РАБОЧИМ ОБОРУДОВАНИЕМ
FIT
1:1
100%

Артикул

Название

Примечание

Количество

|1

206-63-79300

BUCKET CYLINDER A.

|1

206-63-79310

CYLINDER SUB ASS'Y

1

206-63-79320

ROD,PISTON

2

707-76-80020

BUSHING

3

205-70-62140

SEAL,DUST

4

07179-13104

RING,SNAP

5

07016-20908

SEAL,DUST

|5

195-63-94170

SEAL,DUST

6

707-27-13791

HEAD,CYLINDER

7

01010-81655

BOLT

8

707-35-91330

RING,BACK-UP

9

07000-15120

O-RING

10

07177-09040

BUSHING

11

707-51-90030

PACKING,ROD

12

707-51-90630

RING,BUFFER

13

707-44-13180

RING,PISTON

14

707-36-13420

PISTON

15

707-39-13110

RING,WEAR

16

707-68-10680

NUT

17

206-63-72140

CYLINDER

18

707-76-80010

BUSHING

19

07145-00080

SEAL,DUST

20

206-63-72170

TUBE

21

07000-13030

O-RING

22

01010-50845

BOLT

23

01010-50855

BOLT

24

01602-20825

WASHER,SPRING

25

707-88-99340

BAND

26

707-88-99310

BAND

27

01010-51035

BOLT

28

01602-21030

WASHER,SPRING

29

07282-02793

CLAMP

30

01010-51020

BOLT

31

01602-21030

WASHER,SPRING

32

07020-00000

FITTING,GREASE

33

07020-00900

FITTING,GREASE

Выбрано товаров: 36