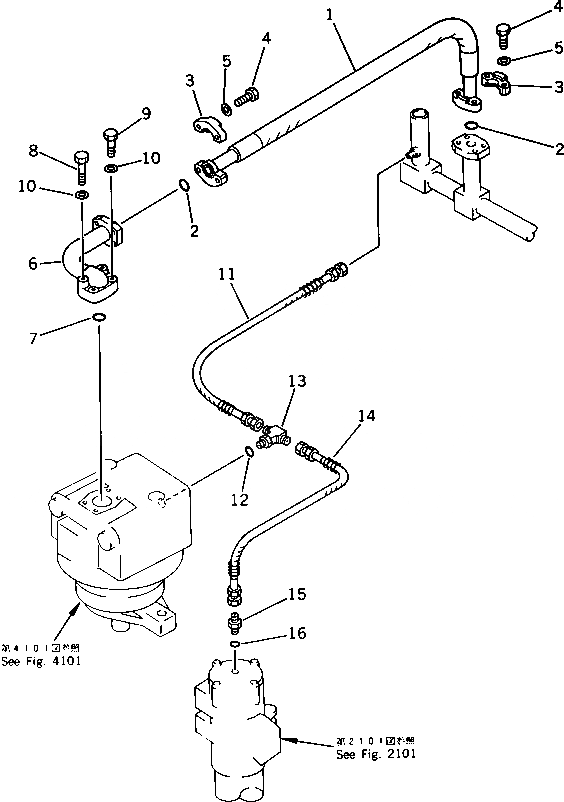
Запчасти Komatsu PC220LC-3 ГИДРОЛИНИЯ (ВОЗВРАТ.)(№-98) УПРАВЛ-Е РАБОЧИМ ОБОРУДОВАНИЕМ

Схема запчастей Komatsu PC220LC-3 - ГИДРОЛИНИЯ (ВОЗВРАТ.)(№-98) УПРАВЛ-Е РАБОЧИМ ОБОРУДОВАНИЕМ
FIT
1:1
100%

Артикул

Название

Примечание

Количество

1

07297-01406

HOSE

2

07000-03048

O-RING

3

07371-31465

FLANGE,SPLIT

4

07372-21240

BOLT

5

01643-51232

WASHER

6

205-62-71964

TUBE

7

07000-13045

O-RING

8

01010-51270

BOLT

9

01010-51260

BOLT

10

01643-31232

WASHER

11

205-62-71281

HOSE

12

07002-02034

O-RING

13

209-62-27580

TEE

14

205-62-71290

HOSE

15

07230-10315

UNION

16

07002-02034

O-RING

Выбрано товаров: 16