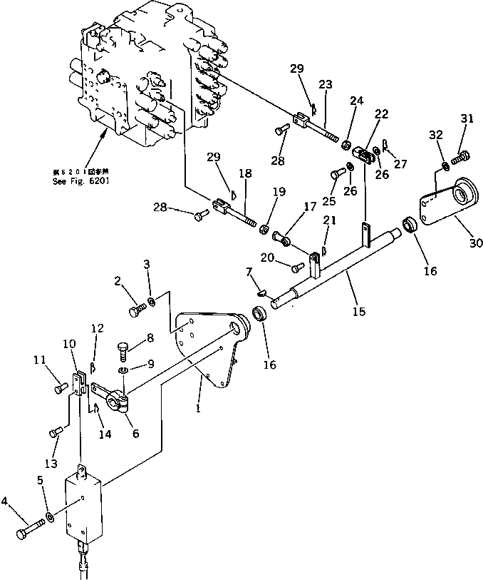
Запчасти Komatsu PC220LC-3 СТРЕЛА МЕХ-М УПРАВЛ-Я (/) (ДЛЯ УДЛИНН. РЫЧАГ УПРАВЛ-Е)(№-) ПОВОРОТН. И СИСТЕМА УПРАВЛЕНИЯ

Схема запчастей Komatsu PC220LC-3 - СТРЕЛА МЕХ-М УПРАВЛ-Я (/) (ДЛЯ УДЛИНН. РЫЧАГ УПРАВЛ-Е)(№-) ПОВОРОТН. И СИСТЕМА УПРАВЛЕНИЯ
FIT
1:1
100%

Артикул

Название

Примечание

Количество

1

205-43-73180

BRACKET

2

01010-51230

BOLT

3

01643-31232

WASHER

4

01010-50885

BOLT

5

01643-30823

WASHER

6

205-43-73130

LEVER

7

04010-00732

KEY

8

01010-51245

BOLT

9

01602-21236

WASHER,SPRING

10

207-43-11240

YOKE

11

04205-10828

PIN

12

04052-00833

PIN,SNAP

13

04205-11028

PIN

14

04052-01038

PIN,SNAP

15

205-43-73170

SHAFT

16

175-79-61230

BUSHING

17

04250-40847

END,ROD

18

205-43-73390

ROD

19

01580-10806

NUT

20

04205-10830

PIN

21

04052-00833

PIN,SNAP

22

205-43-72970

YOKE

23

04244-40807

ROD

24

01580-10806

NUT

25

04205-11032

PIN

26

01640-21016

WASHER

27

04052-01038

PIN,SNAP

28

04205-10822

PIN

29

04052-00833

PIN,SNAP

30

205-43-73120

BRACKET

31

01010-51230

BOLT

32

01643-31232

WASHER

Выбрано товаров: 32