Запчасти Komatsu PC220LC-3 ГЛАВН. ТРУБЫ (АВТОМ. ЗАМЕДЛЕНИЕ ОБОРОТОВ¤ ПОВОРОТН. МЕХАНИЧ. ТОРМОЗ.)(№7-9) ПОВОРОТН. И СИСТЕМА УПРАВЛЕНИЯ

Схема запчастей Komatsu PC220LC-3 - ГЛАВН. ТРУБЫ (АВТОМ. ЗАМЕДЛЕНИЕ ОБОРОТОВ¤ ПОВОРОТН. МЕХАНИЧ. ТОРМОЗ.)(№7-9) ПОВОРОТН. И СИСТЕМА УПРАВЛЕНИЯ
FIT
1:1
100%

Артикул

Название

Примечание

Количество

|$0

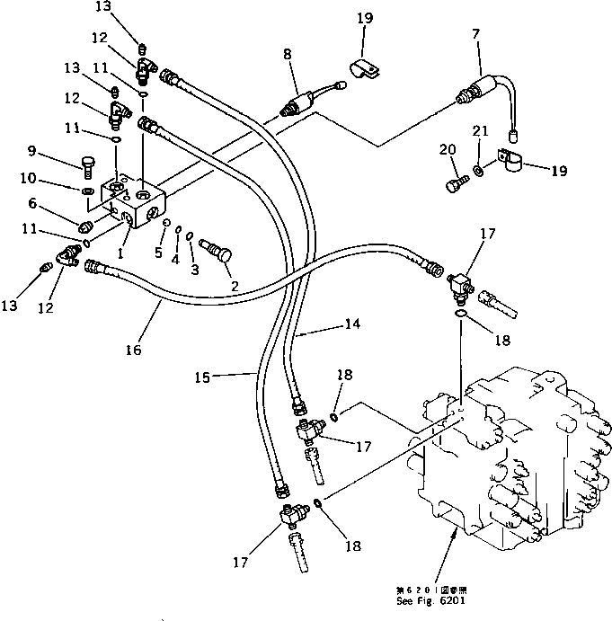
207-60-00060

SHUTTLE VALVE ASS'Y

1

205-62-74480

BLOCK

2

702-19-12120

PLUG

3

07002-01423

O-RING

4

07000-01007

O-RING

5

04260-00793

BALL

6

07042-30108

PLUG

7

205-06-72440

SWITCH

8

205-06-72430

SWITCH

9

01010-50860

BOLT

10

01643-30823

WASHER

11

07002-01423

O-RING

12

07235-50210

ELBOW

13

07042-30108

PLUG

14

205-62-74610

HOSE

15

205-62-74590

HOSE

16

203-62-44120

HOSE

17

208-26-11611

TEE

18

07002-01423

O-RING

19

08036-01814

CLIP

20

01010-51020

BOLT

21

01643-31032

WASHER

Выбрано товаров: 22