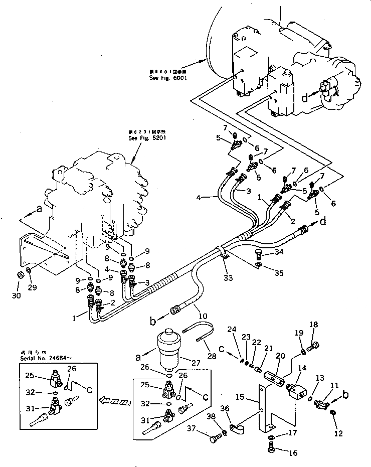
Запчасти Komatsu PC220LC-3 O.L.S.S. ТРУБЫ (ДЛЯ УДЛИНН. РЫЧАГ УПРАВЛ-Е) ПОВОРОТН. И СИСТЕМА УПРАВЛЕНИЯ

Схема запчастей Komatsu PC220LC-3 - O.L.S.S. ТРУБЫ (ДЛЯ УДЛИНН. РЫЧАГ УПРАВЛ-Е) ПОВОРОТН. И СИСТЕМА УПРАВЛЕНИЯ
FIT
1:1
100%

Артикул

Название

Примечание

Количество

|$0

205-62-74150

HOSE ASS'Y

1

07108-20212

HOSE,(YELLOW)

2

205-62-71770

HOSE,(GREEN)

3

07108-20211

HOSE,(RED)

4

205-62-74290

HOSE,(BLUE)

5

07236-50210

ELBOW

6

07002-11423

O-RING

6

07002-01423

O-RING

7

07042-30108

PLUG

8

07230-20210

UNION

8

07230-10210

UNION

9

07002-01423

O-RING

10

07102-20413

HOSE

11

07235-50422

ELBOW

12

07042-30108

PLUG

13

07002-02034

O-RING

14

205-62-71681

TEE

15

205-62-71880

BRACKET

16

01010-51225

BOLT

17

01643-31232

WASHER

18

01010-51225

BOLT

19

01643-31232

WASHER

|$22

205-60-64300

CHECK VALVE ASS'Y

20

205-60-64290

BODY

21

205-60-51390

POPPET

22

205-60-51410

SPRING

23

205-60-51420

SEAT

24

04065-01410

RING,SNAP

25

207-62-33790

TEE

25

205-62-74390

TEE

26

07002-02034

O-RING

27

205-60-71152

ACCUMULATOR

27

205-60-71151

ACCUMULATOR

27

205-60-71150

ACCUMULATOR

28

07283-28981

CLIP

29

01643-31232

WASHER

30

01599-01214

NUT

31

209-62-27580

TEE

31

208-26-11611

TEE

32

07002-02034

O-RING

32

07002-01423

O-RING

33

21T-06-12650

CLIP

34

01010-51265

BOLT

34

01010-51225

BOLT

35

01643-31232

WASHER

36

08036-03014

CLIP

37

01010-51225

BOLT

38

01643-31232

WASHER

Выбрано товаров: 48