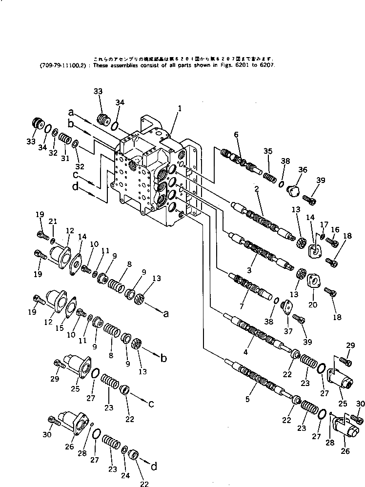
Запчасти Komatsu PC220LC-3 УПРАВЛЯЮЩ. КЛАПАН (/7) (ДЛЯ УДЛИНН. РЫЧАГ УПРАВЛ-Е)(№-) УПРАВЛ-Е РАБОЧИМ ОБОРУДОВАНИЕМ

Схема запчастей Komatsu PC220LC-3 - УПРАВЛЯЮЩ. КЛАПАН (/7) (ДЛЯ УДЛИНН. РЫЧАГ УПРАВЛ-Е)(№-) УПРАВЛ-Е РАБОЧИМ ОБОРУДОВАНИЕМ
FIT
1:1
100%

Артикул

Название

Примечание

Количество

|$0

709-79-11102

CONTROL VALVE ASS'Y

|$1

709-79-11100

CONTROL VALVE ASS'Y

|$2

709-74-91100

VALVE ASS'Y

1

BODY,VALVE

2

SPOOL,R.H. TRAVEL

3

SPOOL,BOOM

4

SPOOL,BUCKET

5

SPOOL,ARM HIGH

6

SPOOL

7

SPOOL

8

709-75-92150

SPRING

9

709-75-92130

RETAINER

10

01252-30812

BOLT

11

01643-30823

WASHER

12

709-75-92140

CASE

13

709-75-92120

SEAL

14

709-75-92110

PLATE

15

709-75-92170

PLATE

16

01252-30816

BOLT

17

01643-30823

WASHER

18

01252-30820

BOLT

19

01252-30825

BOLT

20

709-75-92160

PLATE

21

01643-50823

WASHER

22

709-74-92110

RETAINER

23

709-74-92180

SPRING

24

709-74-92360

SHIM, 0.5MM

25

709-74-92120

CASE

26

709-74-92150

CASE

27

709-74-92170

O-RING

28

07000-02010

O-RING

29

01252-30820

BOLT

30

01252-30830

BOLT

31

700-23-13130

SPRING

32

709-74-92270

WASHER

33

709-74-92220

PLUG

34

07002-03034

O-RING

35

709-74-92190

SPRING

36

709-74-92250

PLATE

37

709-74-92240

PLATE

38

07000-02018

O-RING

39

01252-30820

BOLT

Выбрано товаров: 42