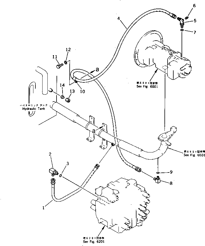
Запчасти Komatsu PC220LC-3 ГИДРОЛИНИЯ (ДРЕНАЖН.) (ДЛЯ УДЛИНН. РЫЧАГ УПРАВЛ-Е)(№-8) УПРАВЛ-Е РАБОЧИМ ОБОРУДОВАНИЕМ

Схема запчастей Komatsu PC220LC-3 - ГИДРОЛИНИЯ (ДРЕНАЖН.) (ДЛЯ УДЛИНН. РЫЧАГ УПРАВЛ-Е)(№-8) УПРАВЛ-Е РАБОЧИМ ОБОРУДОВАНИЕМ
FIT
1:1
100%

Артикул

Название

Примечание

Количество

1

07102-20508

HOSE

2

205-62-74380

ELBOW

3

07002-02434

O-RING

4

07102-20520

HOSE

5

07236-50522

ELBOW

6

07042-30108

PLUG

7

07002-02434

O-RING

8

205-62-72250

ELBOW

9

07002-01823

O-RING

10

08036-02514

CLIP

11

01010-51025

BOLT

12

01643-31032

WASHER

13

07221-20522

NUT

14

07222-00515

PLUG

Выбрано товаров: 14