Запчасти Komatsu PC220LC-3 ПАНЕЛЬ ПРИБОРОВ(/)(ДЛЯ WRIST УПРАВЛ-Е)(АВТОМ. ЗАМЕДЛЕНИЕ ОБОРОТОВ¤ ПОВОРОТН. МЕХАНИЧ. ТОРМОЗ.¤ -STAGE)(№-) КОМПОНЕНТЫ ДВИГАТЕЛЯ И ЭЛЕКТРИКА

Схема запчастей Komatsu PC220LC-3 - ПАНЕЛЬ ПРИБОРОВ(/)(ДЛЯ WRIST УПРАВЛ-Е)(АВТОМ. ЗАМЕДЛЕНИЕ ОБОРОТОВ¤ ПОВОРОТН. МЕХАНИЧ. ТОРМОЗ.¤ -STAGE)(№-) КОМПОНЕНТЫ ДВИГАТЕЛЯ И ЭЛЕКТРИКА
FIT
1:1
100%

Артикул

Название

Примечание

Количество

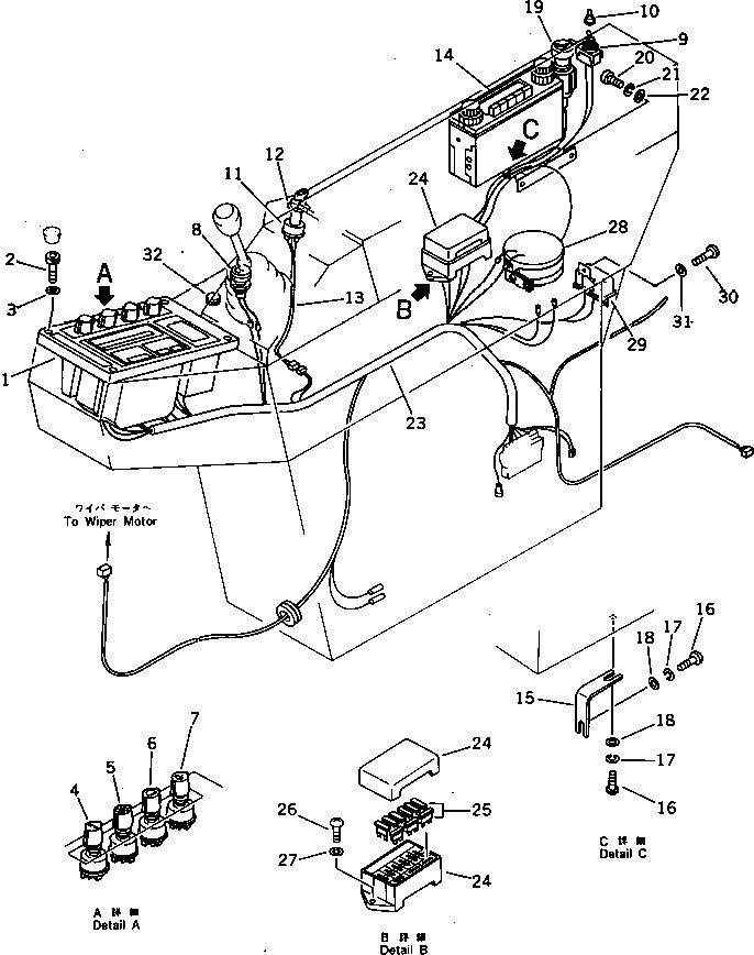
1

7861-22-1100

PANEL ASS'Y

2

01220-40616

SCREW

3

01641-20608

WASHER

4

205-06-72160

SWITCH,MODE

5

205-06-71321

SWITCH,HEATER

6

205-06-71331

SWITCH,LAMP

7

205-06-71341

SWITCH,WIPER

8

205-06-64540

LAMP

8

08111-02430

BULB, 3W

9

23S-06-14410

SWITCH,AUTO DECELERATION

10

203-06-41610

CAP

11

08086-20000

SWITCH,STARTING

12

205-26-91140

SPACER

13

205-06-71520

WIRING HARNESS

14

205-06-72510

RADIO ASS'Y

14

20G-06-15110

RADIO

15

205-06-71461

PLATE

16

01220-40512

SCREW

17

01601-20513

WASHER,SPRING

18

01642-20508

WASHER

19

195-822-6151

LIGHTER

20

01220-40408

SCREW

21

01601-20410

WASHER,SPRING

22

01641-20405

WASHER

23

205-06-71723

WIRING HARNESS

24

205-06-71480

FUSE BOX

25

205-06-73180

FUSE, 15A

26

01220-40616

SCREW

27

01643-30623

WASHER

28

08166-02480

BUZZER

29

206-06-41130

RELAY,HORN

30

01220-40616

SCREW

31

01643-30623

WASHER

32

09415-00706

CAP

Выбрано товаров: 34