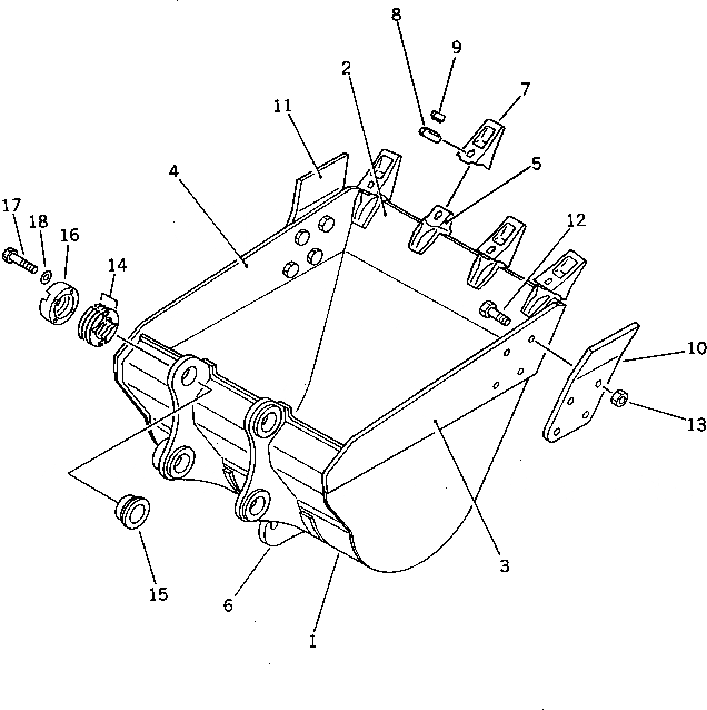
Запчасти Komatsu PC220LC-3 КОВШ¤ .9M¤ ШИР. MM¤ С КРЮК (КРОМЕ ЯПОН.)(№89-) РАБОЧЕЕ ОБОРУДОВАНИЕ

Схема запчастей Komatsu PC220LC-3 - КОВШ¤ .9M¤ ШИР. MM¤ С КРЮК (КРОМЕ ЯПОН.)(№89-) РАБОЧЕЕ ОБОРУДОВАНИЕ
FIT
1:1
100%

Артикул

Название

Примечание

Количество

1

206-70-54210

BUCKET

2

206-70-54160

PLATE (WELDED)

3

206-70-54141

PLATE (WELDED)

4

206-70-54151

PLATE (WELDED)

5

206-70-54121

ADAPTER (WELDED)

6

205-70-69570

HOOK (WELDED)

6

205-70-74420

HOOK (WELDED)

7

206-70-54221

TOOTH

7

205-70-54220

TOOTH

7

207-70-34211

TOOTH

8

207-70-34221

PIN

8

207-70-34220

PIN

9

205-70-74291

LOCK

9

205-70-74290

LOCK

10

205-70-74180

CUTTER,L.H.

11

205-70-74190

CUTTER,R.H.

12

176-32-11210

BOLT, SHOE

13

01803-02430

NUT

14

205-70-00101

SHIM ASS'Y

14

205-70-00100

SHIM ASS'Y

14

SHIM, 0.5MM

14

SHIM, 1.0MM

14

SHIM, 1.0MM

15

205-70-74381

SPACER

16

205-70-74391

PLATE

17

01010-52055

BOLT

18

01643-32060

WASHER

Выбрано товаров: 27