Запчасти Komatsu PC220LC-3 КОВШ¤ .M¤ ШИР. MM¤ С БОКОРЕЗЫ (КРОМЕ ЯПОН.)(№-) РАБОЧЕЕ ОБОРУДОВАНИЕ

Схема запчастей Komatsu PC220LC-3 - КОВШ¤ .M¤ ШИР. MM¤ С БОКОРЕЗЫ (КРОМЕ ЯПОН.)(№-) РАБОЧЕЕ ОБОРУДОВАНИЕ
FIT
1:1
100%

Артикул

Название

Примечание

Количество

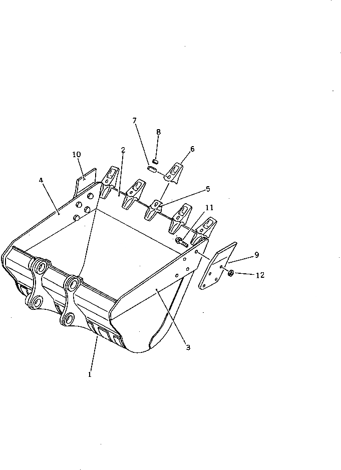
1

206-920-6210

BUCKET

2

206-920-6220

PLATE (WELDED)

3

206-70-58120

PLATE,L.H. (WELDED)

4

206-70-58130

PLATE,R.H. (WELDED)

5

206-70-58150

ADAPTER (WELDED)

6

206-70-54221

TOOTH

7

207-70-34221

PIN

8

205-70-74291

LOCK

9

205-70-74180

CUTTER,L.H.

10

205-70-74190

CUTTER,R.H.

11

176-32-11210

BOLT, SHOE

12

01803-02430

NUT

Выбрано товаров: 12