Запчасти Komatsu PC220LC-3 УСИЛ. КОВШ¤ .9M ШИР. MM РАБОЧЕЕ ОБОРУДОВАНИЕ

Схема запчастей Komatsu PC220LC-3 - УСИЛ. КОВШ¤ .9M ШИР. MM РАБОЧЕЕ ОБОРУДОВАНИЕ
FIT
1:1
100%

Артикул

Название

Примечание

Количество

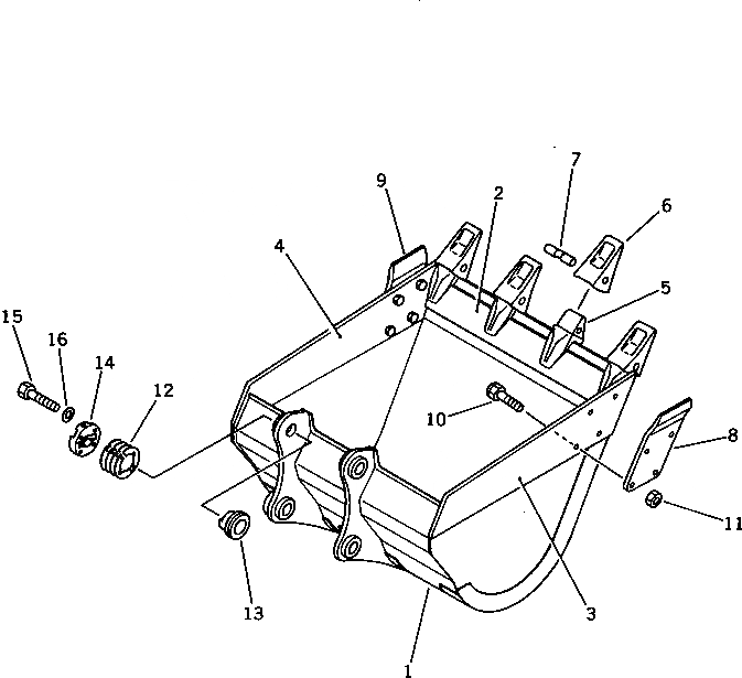
1

206-939-5111

BUCKET

1

206-939-5110

BUCKET

2

206-70-58141

PLATE (WELDED)

2

206-70-54160

PLATE (WELDED)

3

206-70-58120

PLATE,L.H. (WELDED)

3

206-70-54141

PLATE,L.H. (WELDED)

4

206-70-58130

PLATE,R.H. (WELDED)

4

206-70-54151

PLATE,R.H. (WELDED)

5

206-70-58520

ADAPTER (WELDED)

5

206-939-5120

ADAPTER (WELDED)

6

206-70-48610

TOOTH

6

207-70-14151

TOOTH

7

09244-02516

PIN

8

205-70-74180

CUTTER,L.H.

9

205-70-74190

CUTTER,R.H.

10

176-32-11210

BOLT, SHOE

11

01803-02430

NUT

12

205-70-00100

SHIM ASS'Y

12

205-70-00101

SHIM ASS'Y

12

SHIM, 0.5MM

12

SHIM, 1.0MM

12

SHIM, 1.0MM

13

205-70-74381

SPACER

14

205-70-74391

PLATE

15

01010-52055

BOLT

16

01643-32060

WASHER

Выбрано товаров: 26