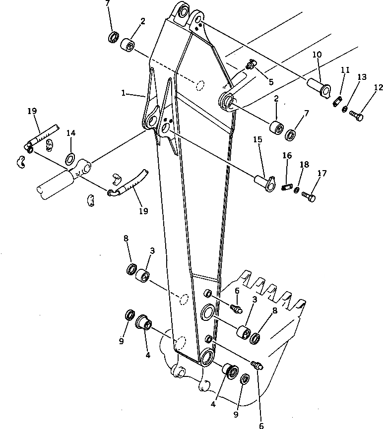
Запчасти Komatsu PC220LC-3 КОРОТК. РУКОЯТЬ¤ MM РАБОЧЕЕ ОБОРУДОВАНИЕ

Схема запчастей Komatsu PC220LC-3 - КОРОТК. РУКОЯТЬ¤ MM РАБОЧЕЕ ОБОРУДОВАНИЕ
FIT
1:1
100%

Артикул

Название

Примечание

Количество

|$0

206-944-0041

ARM ASS'Y

|$1

206-944-0040

ARM ASS'Y

1

ARM

1

206-944-5210

ARM

2

205-70-66550

BUSHING

3

21K-70-12161

BUSHING

4

205-70-72130

BUSHING

5

07020-00900

FITTING,GREASE

6

07020-00000

FITTING,GREASE

7

07145-00090

SEAL,DUST

8

205-70-62140

SEAL,DUST

9

205-70-62150

SEAL,DUST

10

206-70-51170

PIN

11

205-70-66580

PLATE

12

01010-51235

BOLT

13

01643-31232

WASHER

14

205-70-51520

SPACER, 1.0MM

15

205-70-71320

PIN

16

205-70-66580

PLATE

17

01010-51235

BOLT

18

01643-31232

WASHER

19

07098-20620

HOSE

Выбрано товаров: 22