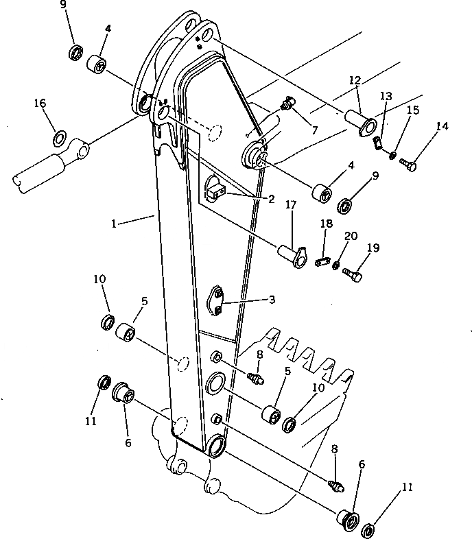
Запчасти Komatsu PC220LC-3 КОРОТК. РУКОЯТЬ¤ MM РАБОЧЕЕ ОБОРУДОВАНИЕ

Схема запчастей Komatsu PC220LC-3 - КОРОТК. РУКОЯТЬ¤ MM РАБОЧЕЕ ОБОРУДОВАНИЕ
FIT
1:1
100%

Артикул

Название

Примечание

Количество

|$0

206-970-0010

SHORT ARM ASS'Y

1

ARM

2

205-970-1521

BRACKET (WELDED)

3

205-970-6133

BRACKET (WELDED)

4

205-70-66550

BUSHING

5

21K-70-12161

BUSHING

6

205-70-72130

BUSHING

7

07020-00900

FITTING,GREASE

8

07020-00000

FITTING,GREASE

9

07145-00090

SEAL,DUST

10

205-70-62140

SEAL,DUST

11

205-70-62150

SEAL,DUST

12

206-70-51170

PIN

13

205-70-66580

PLATE

14

01010-51235

BOLT

15

01643-31232

WASHER

16

205-70-51520

SPACER, 1.0MM

17

205-70-71320

PIN

18

205-70-66580

PLATE

19

01010-51235

BOLT

20

01643-31232

WASHER

Выбрано товаров: 21