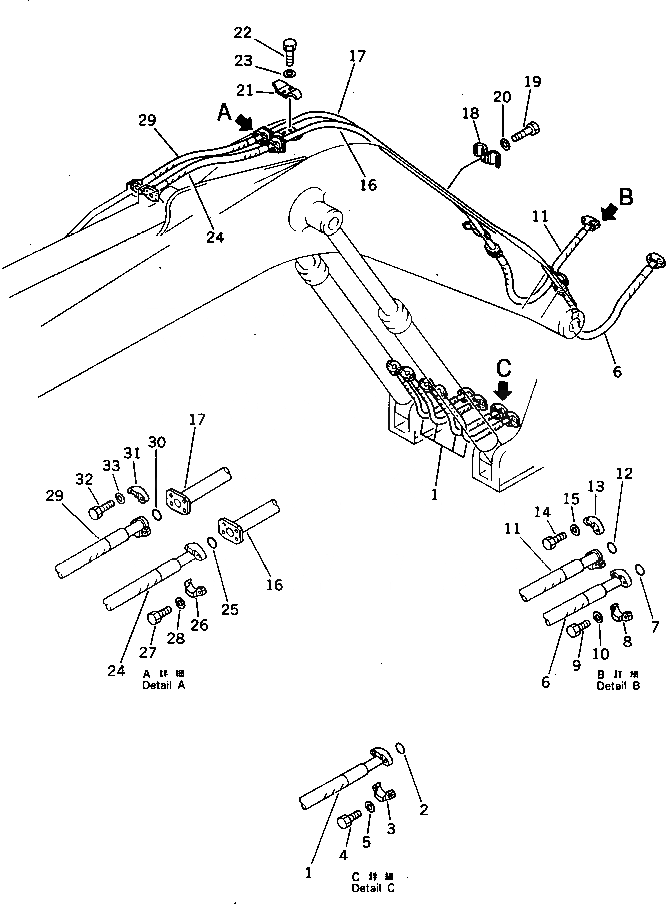
Запчасти Komatsu PC220LC-3 ГИДРОЛИНИЯ (СТРЕЛА И ЦИЛИНДР РУКОЯТИ) (НАВЕСН. ОБОРУД) (ДЛЯ FEET УДЛИНН. РУКОЯТЬ И СТРЕЛА) РАБОЧЕЕ ОБОРУДОВАНИЕ

Схема запчастей Komatsu PC220LC-3 - ГИДРОЛИНИЯ (СТРЕЛА И ЦИЛИНДР РУКОЯТИ) (НАВЕСН. ОБОРУД) (ДЛЯ FEET УДЛИНН. РУКОЯТЬ И СТРЕЛА) РАБОЧЕЕ ОБОРУДОВАНИЕ
FIT
1:1
100%

Артикул

Название

Примечание

Количество

1

07099-00608

HOSE

2

07000-13025

O-RING

3

07371-30638

FLANGE,SPLIT

4

01010-50830

BOLT

5

01643-50823

WASHER

6

07099-01010

HOSE

7

07000-13032

O-RING

8

07371-31049

FLANGE,SPLIT

9

07372-21035

BOLT

10

01643-51032

WASHER

11

07099-00610

HOSE

12

07000-13025

O-RING

13

07371-30638

FLANGE,SPLIT

14

01010-50830

BOLT

15

01643-50823

WASHER

16

205-949-4320

TUBE

17

205-949-4310

TUBE

18

205-62-73450

CLAMP

19

205-09-71110

BOLT

19

01010-51030

BOLT

20

01643-31032

WASHER

21

205-62-73460

CLAMP

22

205-09-71110

BOLT

22

01010-51030

BOLT

23

01643-31032

WASHER

24

07099-01011

HOSE

25

07000-13032

O-RING

26

07371-31049

FLANGE,SPLIT

27

07372-21035

BOLT

28

01643-51032

WASHER

29

07099-00611

HOSE

30

07000-13025

O-RING

31

07371-30638

FLANGE,SPLIT

32

01010-50830

BOLT

33

01643-50823

WASHER

Выбрано товаров: 35