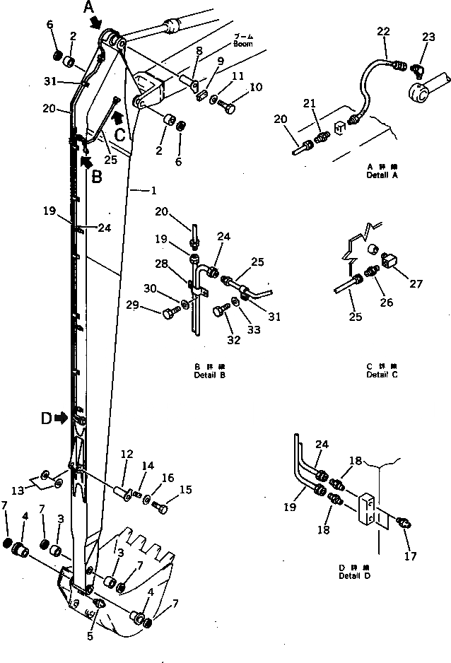
Запчасти Komatsu PC220LC-3 РУКОЯТЬ (ДЛЯ FEET УДЛИНН. РУКОЯТЬ И СТРЕЛА) РАБОЧЕЕ ОБОРУДОВАНИЕ

Схема запчастей Komatsu PC220LC-3 - РУКОЯТЬ (ДЛЯ FEET УДЛИНН. РУКОЯТЬ И СТРЕЛА) РАБОЧЕЕ ОБОРУДОВАНИЕ
FIT
1:1
100%

Артикул

Название

Примечание

Количество

|$0

206-949-0091

ARM ASS'Y

|$1

206-949-0090

ARM ASS'Y

1

ARM

1

206-949-5210

ARM

2

205-70-66550

BUSHING

3

203-70-33150

BUSHING

4

203-70-33181

BUSHING

5

07020-00900

FITTING,GREASE

6

07145-00090

SEAL,DUST

7

203-70-33210

SEAL,DUST

8

205-70-71320

PIN

9

205-70-66580

PLATE

10

01010-51235

BOLT

11

01643-31232

WASHER

12

203-70-42130

PIN

13

203-70-41160

SPACER, 1.0MM

14

205-70-66580

PLATE

15

01010-51230

BOLT

16

01643-31232

WASHER

17

07020-00000

FITTING,GREASE

18

07213-50813

CONNECTOR

19

206-949-5430

TUBE

20

206-949-5451

TUBE

20

206-949-5450

TUBE

21

07213-50813

CONNECTOR

22

209-72-16550

HOSE

22

205-70-51360

HOSE, 540MM

23

205-70-65780

ELBOW

24

206-949-5440

TUBE

25

206-949-5460

TUBE

26

207-70-11730

NIPPLE

27

201-01-22130

ELBOW

28

21K-70-11310

CLIP

29

01010-50612

BOLT

30

01643-30623

WASHER

31

21T-62-25740

CLIP

32

01010-51016

BOLT

33

01643-31032

WASHER

Выбрано товаров: 38