Запчасти Komatsu PC220LC-3 ЭЛЕКТРИКА (ЭЛЕКТРОПРОВОДКА) (/) (АВТОМ. ЗАМЕДЛЕНИЕ ОБОРОТОВ¤ ПОВОРОТН. МЕХАНИЧ. ТОРМОЗ.¤ -STAGE)(№-) КОМПОНЕНТЫ ДВИГАТЕЛЯ И ЭЛЕКТРИКА

Схема запчастей Komatsu PC220LC-3 - ЭЛЕКТРИКА (ЭЛЕКТРОПРОВОДКА) (/) (АВТОМ. ЗАМЕДЛЕНИЕ ОБОРОТОВ¤ ПОВОРОТН. МЕХАНИЧ. ТОРМОЗ.¤ -STAGE)(№-) КОМПОНЕНТЫ ДВИГАТЕЛЯ И ЭЛЕКТРИКА
FIT
1:1
100%

Артикул

Название

Примечание

Количество

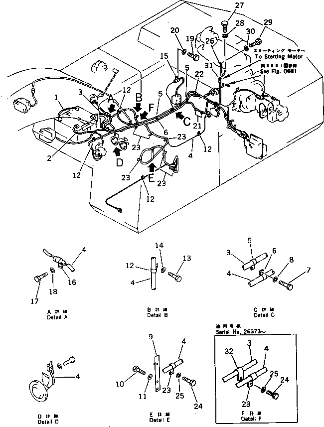
1

08028-13035

CABLE

2

08028-13045

CABLE

3

08028-13275

CABLE

4

205-06-71137

WIRING HARNESS

5

08036-01414

CLIP

6

08036-01814

CLIP

7

01010-51225

BOLT

8

01643-31232

WASHER

9

205-06-71240

PLATE

10

01010-51225

BOLT

11

01643-31232

WASHER

12

08036-10814

CLIP

13

01010-51225

BOLT

14

01643-31232

WASHER

15

195-06-41820

CLIP

15

08036-01814

CLIP

16

08052-31711

CLIP

16

08036-01814

CLIP

17

01010-51016

BOLT

17

01010-51225

BOLT

18

01643-31032

WASHER

18

01643-31232

WASHER

19

01010-51225

BOLT

20

01643-31232

WASHER

21

08036-01814

CLIP

22

08036-01414

CLIP

23

08036-02514

CLIP

24

01010-51225

BOLT

25

01643-31232

WASHER

26

08028-13035

CABLE

27

01010-51025

BOLT

28

01643-31032

WASHER

29

01010-50816

BOLT

30

01643-30823

WASHER

31

08038-00035

CAP

32

195-01-12520

CLIP

Выбрано товаров: 36