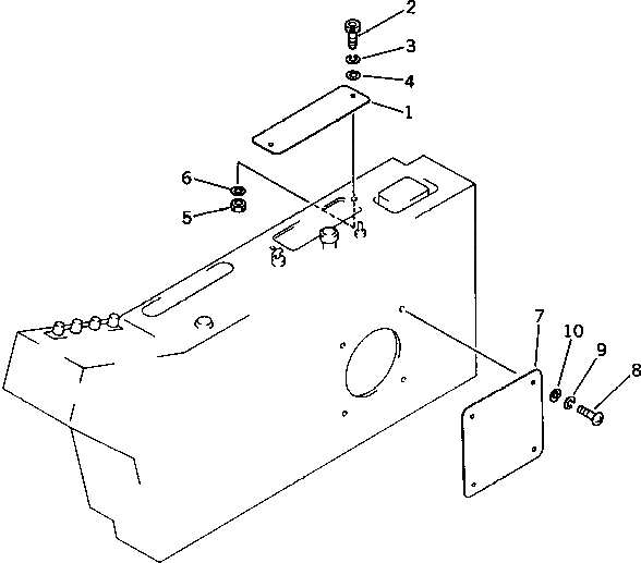
Запчасти Komatsu PC220LC-3 РАДИО-LESS(№8-) ОПЦИОННЫЕ КОМПОНЕНТЫ

Схема запчастей Komatsu PC220LC-3 - РАДИО-LESS(№8-) ОПЦИОННЫЕ КОМПОНЕНТЫ
FIT
1:1
100%

Артикул

Название

Примечание

Количество

1

203-06-31160

PLATE

2

205-06-62170

BOLT

3

205-06-62180

WASHER,SPRING

4

205-06-62190

WASHER

5

01580-10403

NUT

6

145-Z79-6630

WASHER

7

205-06-72181

COVER

8

01220-40410

SCREW

9

01601-20410

WASHER,SPRING

10

01641-20405

WASHER

Выбрано товаров: 10