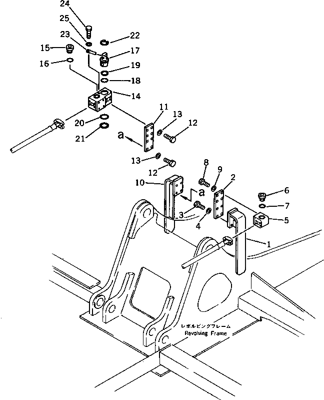
Запчасти Komatsu PC220LC-3 ДОПОЛН. ГИДРОЛИНИЯ (CHANGE ROTOR И ПОВОРОТНОЕ СОЕДИНЕНИЕ) ОПЦИОННЫЕ КОМПОНЕНТЫ

Схема запчастей Komatsu PC220LC-3 - ДОПОЛН. ГИДРОЛИНИЯ (CHANGE ROTOR И ПОВОРОТНОЕ СОЕДИНЕНИЕ) ОПЦИОННЫЕ КОМПОНЕНТЫ
FIT
1:1
100%

Артикул

Название

Примечание

Количество

1

205-970-7341

BRACKET

1

205-970-7340

BRACKET

2

205-970-7520

PLATE

3

01010-51240

BOLT

4

01643-31232

WASHER

5

205-970-7470

BLOCK

6

07040-12414

PLUG

7

07002-12434

O-RING

8

01010-51240

BOLT

9

01643-31232

WASHER

10

205-970-7341

BRACKET

10

205-970-7340

BRACKET

11

205-970-7520

PLATE

12

01010-51240

BOLT

13

01643-31232

WASHER

|$15

205-970-0010

ROTARY VALVE ASS'Y

14

205-970-7450

BLOCK

15

07040-12414

PLUG

16

07002-12434

O-RING

17

205-970-7460

ROTOR

18

07000-13042

O-RING

19

07001-03042

RING,BACK-UP

20

07000-13048

O-RING

21

07001-03048

RING,BACK-UP

22

04065-05220

RING,SNAP

23

202-970-2210

PIN

24

01010-51230

BOLT

25

01643-31232

WASHER

Выбрано товаров: 28