Запчасти Komatsu PC220LC-3 ВПУСК ВОЗДУХА И TAIL PIPE(№-77) КОМПОНЕНТЫ ДВИГАТЕЛЯ И ЭЛЕКТРИКА

Схема запчастей Komatsu PC220LC-3 - ВПУСК ВОЗДУХА И TAIL PIPE(№-77) КОМПОНЕНТЫ ДВИГАТЕЛЯ И ЭЛЕКТРИКА
FIT
1:1
100%

Артикул

Название

Примечание

Количество

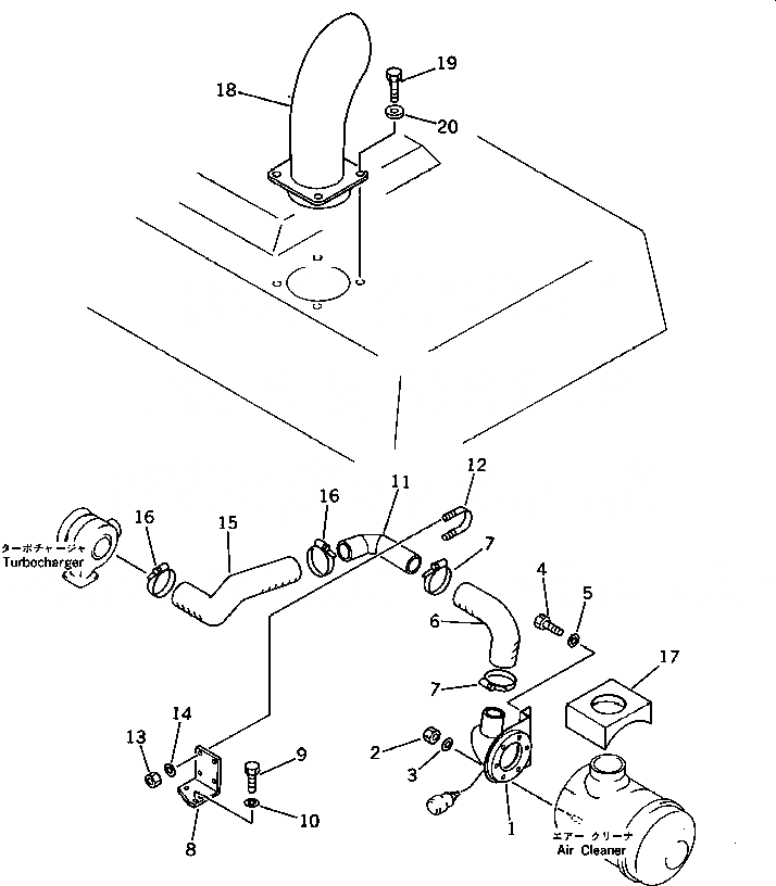
1

206-01-45110

TUBE

2

01582-11008

NUT

3

01643-31032

WASHER

4

01010-51025

BOLT

5

01643-31032

WASHER

6

206-01-45120

HOSE

7

07281-01029

CLAMP

8

206-01-45140

BRACKET

9

01010-51020

BOLT

10

01643-31032

WASHER

11

206-01-45130

TUBE

12

07283-27663

CLIP

13

01599-01011

NUT

14

01643-01032

WASHER

15

206-01-45150

HOSE

16

07281-01029

CLAMP

17

206-01-45160

SEAL

18

206-01-45310

PIPE,TAIL

19

01010-51230

BOLT

20

124-54-26540

WASHER

Выбрано товаров: 20