Качественные детали и логистика
Оригинальные и аналоговые запчасти с доставкой по России, Казахстану и Беларуси
©2022 PartSell ООО "Система" ИНН 2463123282 ОГРН 1212400004838
Центральный офис: г. Красноярск, Академика Киренского, д.87, пом.4
Телефон: 8 (800) 777-65-74 Email: zakaz@partsell.ru
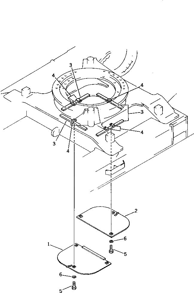
ГУСЕНИЧНАЯ РАМА НИЖН. КРЫШКА
№
Артикул
Название
Примечание
Количество
1
205-30-71410
COVER
2
205-30-71420
3
205-30-71430
PLATE (WELDED)
4
01573-12308
SEAT (WELDED)
5
01010-51235
BOLT
6
01643-31232
WASHER
Выбрано товаров: 0