Запчасти Komatsu PC220LC-3 MACHINERY ОБСТАНОВКА (/) (СПЕЦ-Я TBG)(№-77) СПЕЦ. APPLICATION ЧАСТИ¤ МАРКИРОВКА¤ ИНСТРУМЕНТ И РЕМКОМПЛЕКТЫ

Схема запчастей Komatsu PC220LC-3 - MACHINERY ОБСТАНОВКА (/) (СПЕЦ-Я TBG)(№-77) СПЕЦ. APPLICATION ЧАСТИ¤ МАРКИРОВКА¤ ИНСТРУМЕНТ И РЕМКОМПЛЕКТЫ
FIT
1:1
100%

Артикул

Название

Примечание

Количество

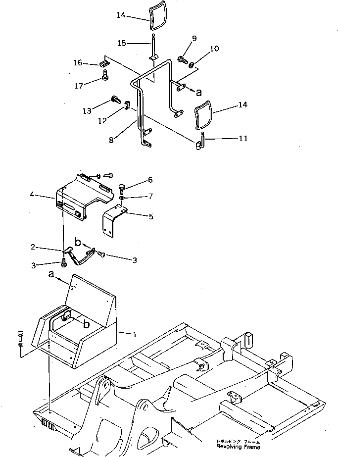
1

205-54-77220

COVER

2

208-54-13160

STAY

3

01225-40510

SCREW

4

205-54-77241

COVER

5

205-54-77231

COVER

6

01010-51220

BOLT

7

01643-31232

WASHER

8

205-54-77110

HAND RAIL

9

01010-51225

BOLT

10

01643-31232

WASHER

11

205-54-68480

SUPPORT

12

207-54-17840

CLAMP

13

01252-41025

BOLT

14

08174-33023

MIRROR

15

205-54-67141

SUPPORT

16

207-54-17840

CLAMP

17

01252-41025

BOLT

Выбрано товаров: 17