Запчасти Komatsu PC220LC-5 РАМА(№-) ЧАСТИ КОРПУСА

Схема запчастей Komatsu PC220LC-5 - РАМА(№-) ЧАСТИ КОРПУСА
FIT
1:1
100%

Артикул

Название

Примечание

Количество

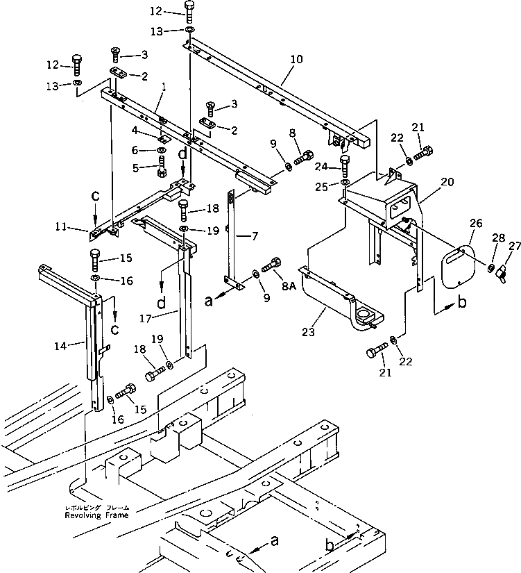
1

20Y-54-19660

FRAME

2

205-54-68440

PLATE

3

01224-40616

SCREW

4

205-54-75860

BRACKET

5

01010-51030

BOLT

6

01643-31032

WASHER

7

20Y-54-12910

FRAME

8

01010-51230

BOLT

8A

01010-51225

BOLT

9

01643-31232

WASHER

10

20Y-54-21620

FRAME

11

20Y-54-12431

FRAME

12

01010-51230

BOLT

13

01643-31232

WASHER

14

20Y-54-19670

FRAME

15

01010-51230

BOLT

16

01643-31232

WASHER

17

20Y-54-21630

FRAME

18

01010-51230

BOLT

19

01643-31232

WASHER

20

20Y-54-16171

COVER

21

01010-51230

BOLT

22

01643-31232

WASHER

23

20Y-54-16141

COVER

24

01010-51230

BOLT

25

01643-31232

WASHER

26

20Y-54-16251

COVER

27

01540-20840

NUT

28

01642-20810

WASHER

Выбрано товаров: 29