Запчасти Komatsu PC220LC-5 ПРЕДПУСК. ПОДОГРЕВ (/) (МОРОЗОУСТОЙЧИВ. СПЕЦ-Я (A) СПЕЦ-Я.) (КРОМЕ ЯПОН.)(№-) ЧАСТИ КОРПУСА

Схема запчастей Komatsu PC220LC-5 - ПРЕДПУСК. ПОДОГРЕВ (/) (МОРОЗОУСТОЙЧИВ. СПЕЦ-Я (A) СПЕЦ-Я.) (КРОМЕ ЯПОН.)(№-) ЧАСТИ КОРПУСА
FIT
1:1
100%

Артикул

Название

Примечание

Количество

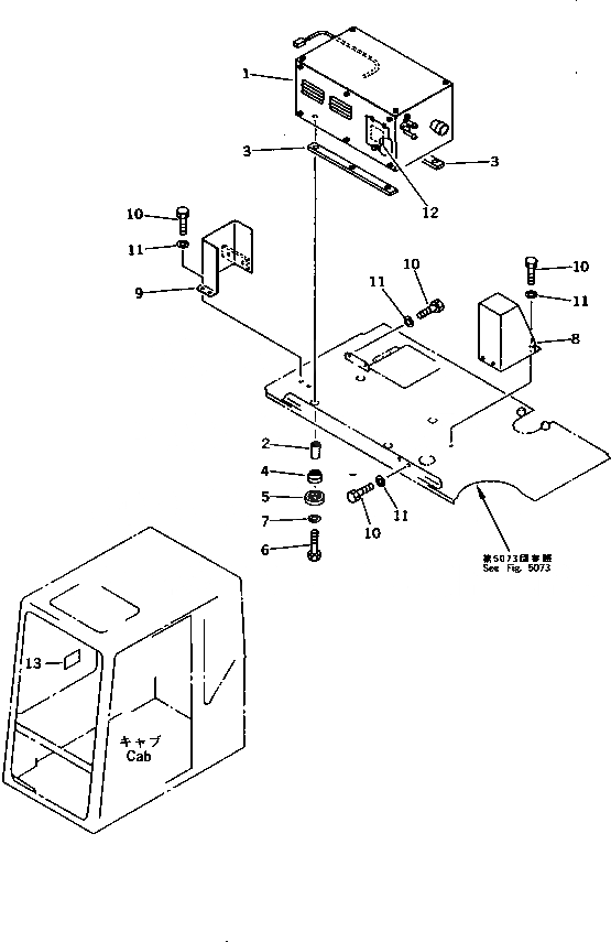
1

20Y-977-1290

PRE HEATER ASS'Y

2

195-01-16140

SPACER

3

154-01-15120

CUSHION

4

195-01-16160

CUSHION

5

195-01-16130

COVER

6

01010-51055

BOLT

7

01643-31032

WASHER

8

20Y-54-21570

COVER

9

205-54-76570

COVER

10

01010-51020

BOLT

11

01643-31032

WASHER

12

20Y-00-12690

PLATE,(RUSSIAN)

12

20Y-00-13450

PLATE,(ENGLISH)

13

20Y-00-12390

PLATE,(RUSSIAN)

13

20Y-00-13460

PLATE,(ENGLISH)

Выбрано товаров: 15