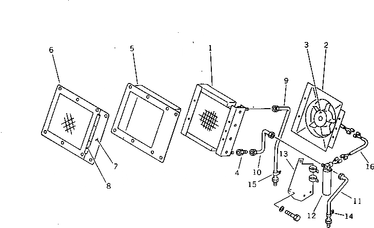
Запчасти Komatsu PC220LC-5 КОНДЕНСАТОР ЧАСТИ КОРПУСА

Схема запчастей Komatsu PC220LC-5 - КОНДЕНСАТОР ЧАСТИ КОРПУСА
FIT
1:1
100%

Артикул

Название

Примечание

Количество

|$0

20Y-978-1201

CONDENSER ASS'Y

|$1

20Y-978-1200

CONDENSER ASS'Y

|$2

CJCM05-0130

CONDENSER SUB ASS'Y

|$3

CJCM05-0120

CONDENSER SUB ASS'Y

1

CJ043-1220

CONDENSER

1

CJ043-1114

CONDENSER

2

CJ044-0872

SHROUD

3

CJ005-3938

FAN AND MOTOR A.

4

CJ014-3530

UNION

5

CJ015-26939

FRAME

6

CJ015-26940-A

COVER

7

CJ015-26940-B

COVER

8

CJ015-26940-C

PIN

9

CJ014-10982

TUBE

10

CJ014-10983

TUBE

11

CJ014-11034

TUBE

11

CJ014-10984

TUBE

12

20Y-978-1111

RECEIVER

12

20Y-978-1110

RECEIVER

13

CJ015-27029

BRACKET

13

CJ015-26938

BRACKET

14

CJPC58136A

CLAMP

15

CJ033-3496

CLAMP

16

CJ019-24340

WIRING HARNESS

16

CJ019-24320

WIRING HARNESS

Выбрано товаров: 25