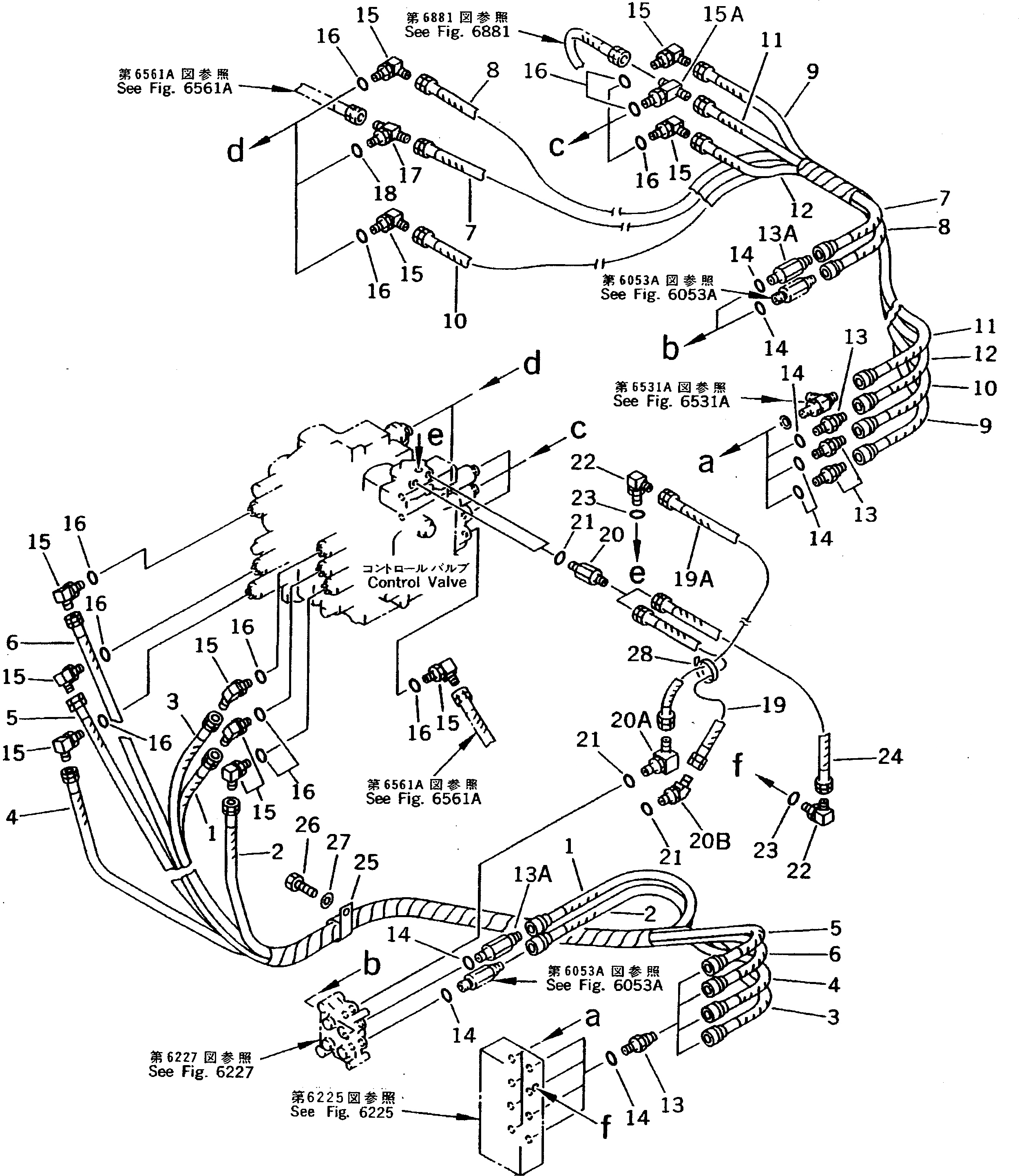
Запчасти Komatsu PC220LC-5 КЛАПАН PPCТРУБЫ (РАСПРЕДЕЛИТ. КЛАПАН TO/FROM УПРАВЛЯЮЩ. КЛАПАН)(С ЦИЛИНДР СТОПОРН. КЛАПАН)(REXROTH)(№-) УПРАВЛ-Е РАБОЧИМ ОБОРУДОВАНИЕМ

Схема запчастей Komatsu PC220LC-5 - КЛАПАН PPCТРУБЫ (РАСПРЕДЕЛИТ. КЛАПАН TO/FROM УПРАВЛЯЮЩ. КЛАПАН)      (С ЦИЛИНДР СТОПОРН. КЛАПАН)(REXROTH)(№-) УПРАВЛ-Е РАБОЧИМ ОБОРУДОВАНИЕМ
FIT
1:1
100%

Артикул

Название

Примечание

Количество

1

20Y-62-17231

HOSE,(BLACK)

2

20Y-62-16431

HOSE,(WHITE)

3

20Y-62-17231

HOSE,(GREEN)

4

20Y-62-17171

HOSE

5

20Y-62-17171

HOSE,(YELLOW)

6

20Y-62-17231

HOSE,(BROWN)

7

20Y-62-16540

HOSE, 800MM,(BROWN)

8

20Y-62-16441

HOSE,(YELLOW)

9

20Y-62-17391

HOSE,(RED)

10

20Y-62-16530

HOSE,(BLUE)

11

20Y-62-17391

HOSE,(WHITE)

12

20Y-62-17391

HOSE,(BLACK)

13

20Y-62-16630

NIPPLE

13A

20Y-62-16620

NIPPLE

14

07002-01423

O-RING

15

207-62-33920

ELBOW

15A

207-62-53790

ELBOW

16

07002-01423

O-RING

17

20Y-62-11780

TEE

18

07002-01423

O-RING

19

20Y-62-17390

HOSE

19A

20Y-62-17380

HOSE

20

207-62-33950

NIPPLE

20A

207-62-33920

ELBOW

20B

22X-61-18550

ELBOW

21

07002-01423

O-RING

22

207-62-33920

ELBOW

23

07002-01423

O-RING

24

20Y-62-17350

HOSE

25

20Y-62-15891

CLIP

26

01010-51225

BOLT

27

01643-31232

WASHER

28

08034-00536

BAND

Выбрано товаров: 33