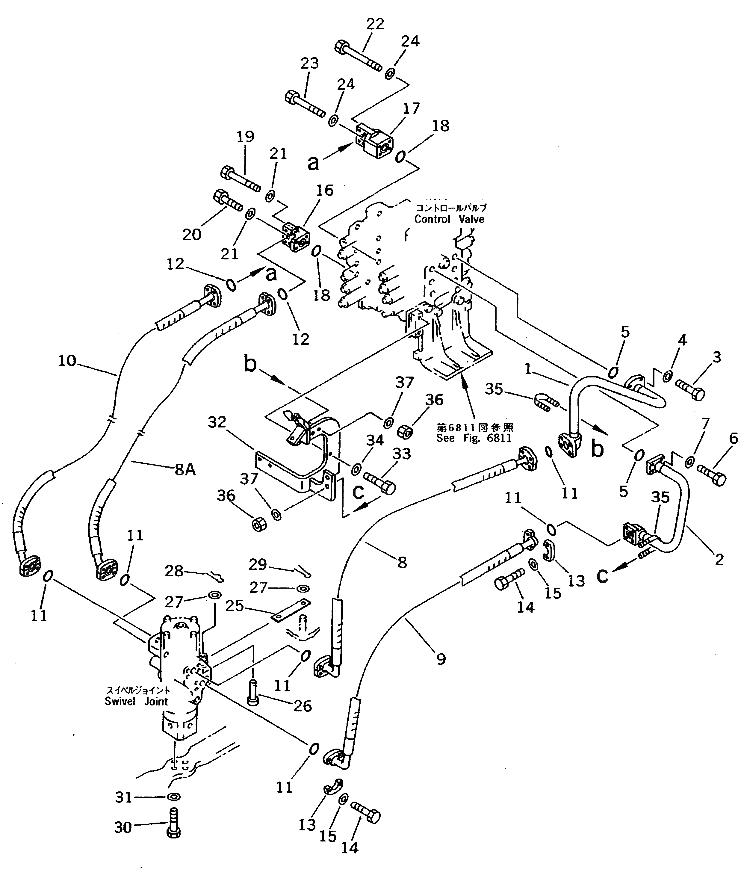
Запчасти Komatsu PC220LC-5 УПРАВЛЯЮЩ. КЛАПАН TO/FROM ПОВОРОТНОЕ СОЕДИНЕНИЕ ТРУБЫ (С ФИЛЬТР) (КРОМЕ ЯПОН.) УПРАВЛ-Е РАБОЧИМ ОБОРУДОВАНИЕМ

Схема запчастей Komatsu PC220LC-5 - УПРАВЛЯЮЩ. КЛАПАН TO/FROM ПОВОРОТНОЕ СОЕДИНЕНИЕ ТРУБЫ (С ФИЛЬТР)   (КРОМЕ ЯПОН.) УПРАВЛ-Е РАБОЧИМ ОБОРУДОВАНИЕМ
FIT
1:1
100%

Артикул

Название

Примечание

Количество

G-1

20Y-62-X1351

LINE FILTER GROUP

1

20Y-62-15362

TUBE

2

20Y-62-15373

TUBE

3

07372-21035

BOLT

4

01643-51032

WASHER

5

21T-09-11450

O-RING

6

07372-21035

BOLT

7

01643-51032

WASHER

8

07098-00611

HOSE,L.H.

8A

20Y-62-15180

HOSE,R.H.

9

07098-00610

HOSE

10

20Y-62-15190

HOSE

11

07000-13025

O-RING

12

21T-09-11430

O-RING

13

07371-30640

FLANGE,SPLIT

14

07372-21035

BOLT

15

01643-51032

WASHER

16

20Y-62-15391

BLOCK

17

20Y-62-15381

BLOCK

18

21T-09-11450

O-RING

19

205-62-74740

BOLT

20

07372-21035

BOLT

21

01643-51032

WASHER

22

205-931-6140

BOLT

23

205-62-74740

BOLT

24

01643-51032

WASHER

25

209-62-14430

PLATE

26

209-62-52560

PIN

27

01641-21626

WASHER

28

04052-11664

PIN

29

04050-14025

PIN,COTTER

30

01010-51235

BOLT

31

01643-31232

WASHER

32

20Y-62-15231

BRACKET

33

01010-51235

BOLT

34

01643-31232

WASHER

35

07283-22738

CLIP

36

01599-01011

NUT

37

01643-31032

WASHER

Выбрано товаров: 39