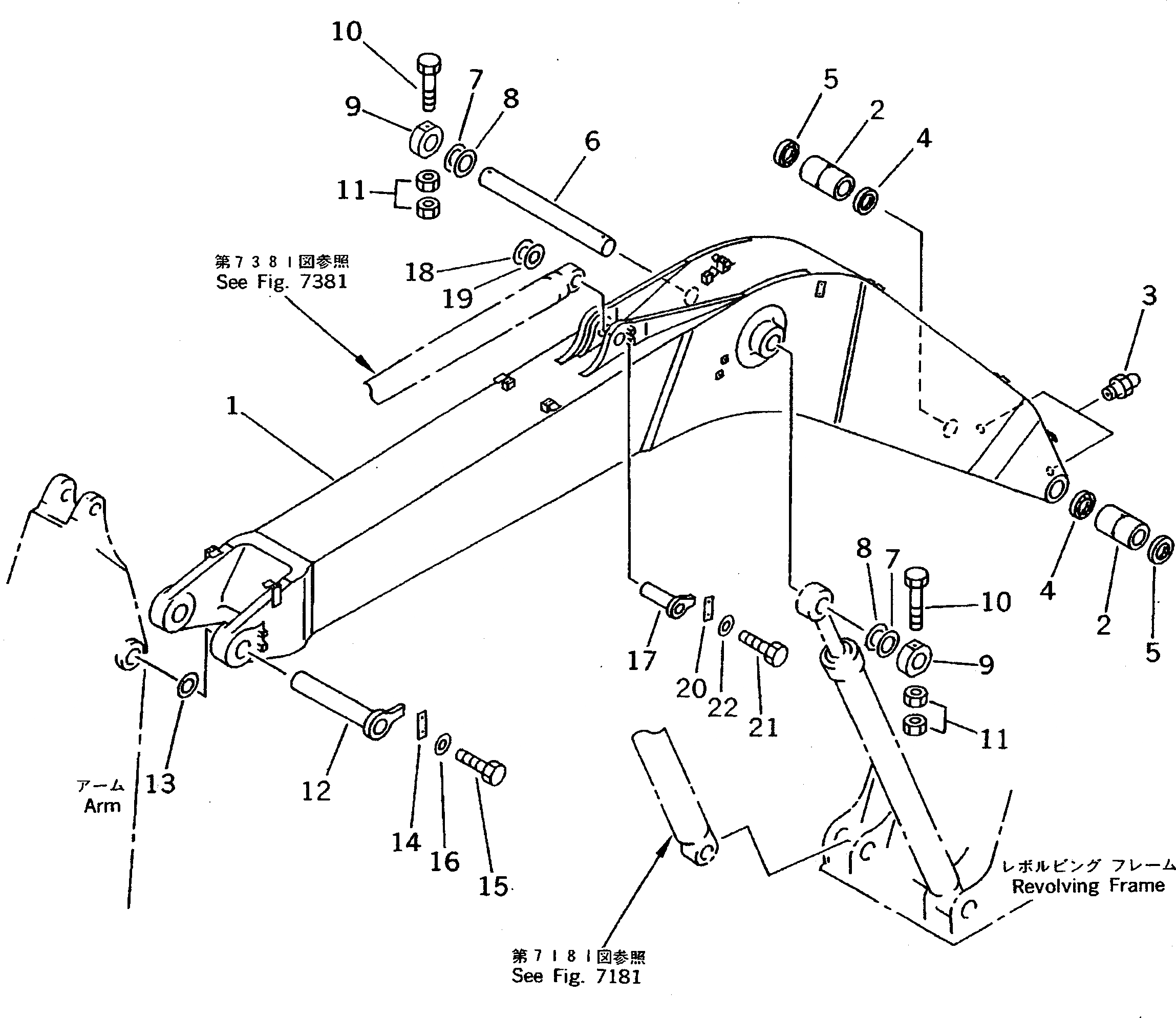
Запчасти Komatsu PC220LC-5 СТРЕЛА(№-) РАБОЧЕЕ ОБОРУДОВАНИЕ

Схема запчастей Komatsu PC220LC-5 - СТРЕЛА(№-) РАБОЧЕЕ ОБОРУДОВАНИЕ
FIT
1:1
100%

Артикул

Название

Примечание

Количество

G-1

206-70-X1011

BOOM GROUP

|$2

206-70-00111

BOOM ASS'Y

1

BOOM

2

206-70-55240

BUSHING

3

07020-00675

FITTING,GREASE

4

07145-00100

SEAL,DUST

5

07145-00100

SEAL,DUST

6

206-70-51190

PIN

7

20Y-70-11390

SPACER, 0.8MM

7

20Y-70-11340

SPACER, 0.8MM

8

20Y-70-11370

SPACER, 1.5MM

8

205-70-51530

SPACER, 1.5MM

9

20Y-70-11170

PLATE

10

20Y-70-11380

BOLT

10

205-70-73190

BOLT

11

01580-12016

NUT

12

205-70-65680

PIN

13

20Y-70-11360

SPACER, 0.8MM

14

205-70-71310

PLATE

15

01010-51235

BOLT

16

01643-31232

WASHER

17

206-70-51170

PIN

18

20Y-70-11340

SPACER, 0.8MM

18

20Y-70-11340

SPACER, 0.8MM

19

205-70-51530

SPACER, 1.5MM

19

205-70-51530

SPACER, 1.5MM

20

205-70-66580

PLATE

21

01010-51235

BOLT

22

01643-31232

WASHER

Выбрано товаров: 29