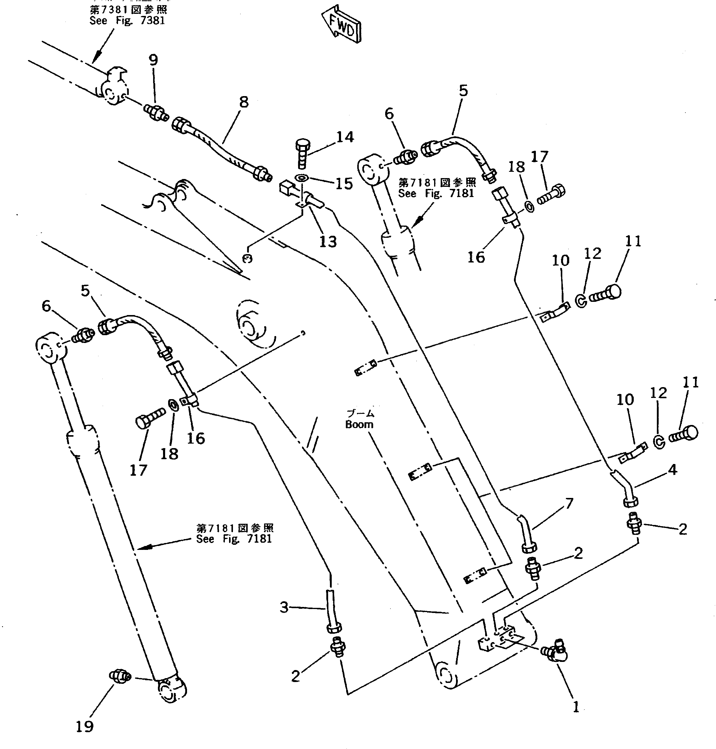
Запчасти Komatsu PC220LC-5 ЛИНИЯ СМАЗКИ РАБОЧ. ОБОРУД-Я (СТРЕЛА)(№-) РАБОЧЕЕ ОБОРУДОВАНИЕ

Схема запчастей Komatsu PC220LC-5 - ЛИНИЯ СМАЗКИ РАБОЧ. ОБОРУД-Я (СТРЕЛА)(№-) РАБОЧЕЕ ОБОРУДОВАНИЕ
FIT
1:1
100%

Артикул

Название

Примечание

Количество

G-1

206-70-X1011

BOOM GROUP

1

07020-00900

FITTING,GREASE

2

207-70-11730

NIPPLE

3

206-70-55193

TUBE

4

206-70-55173

TUBE

5

205-70-51370

HOSE

6

205-70-51390

NIPPLE

7

206-70-55184

TUBE

8

209-72-16730

HOSE

9

205-70-51390

NIPPLE

10

205-70-51410

CLIP

11

01010-50612

BOLT

12

01602-20619

WASHER,SPRING

13

08036-00814

CLIP

14

01010-51016

BOLT

15

01643-31032

WASHER

16

205-70-51420

CLIP

17

01010-50612

BOLT

18

01602-20619

WASHER

19

07020-00000

FITTING,GREASE

Выбрано товаров: 20