/ / / / / / ПРАВ. СТОЙКА И РЫЧАГ (ЗАДН. ) (ДЛЯ WRIST УПРАВЛ-Е)(№-)
Запчасти Komatsu PC220LC-5 ПРАВ. СТОЙКА И РЫЧАГ (ЗАДН. ) (ДЛЯ WRIST УПРАВЛ-Е)(№-) СИСТЕМА УПРАВЛЕНИЯ И ОСНОВНАЯ РАМА
G-1
20Y-43-X3101
CONTROL GROUP
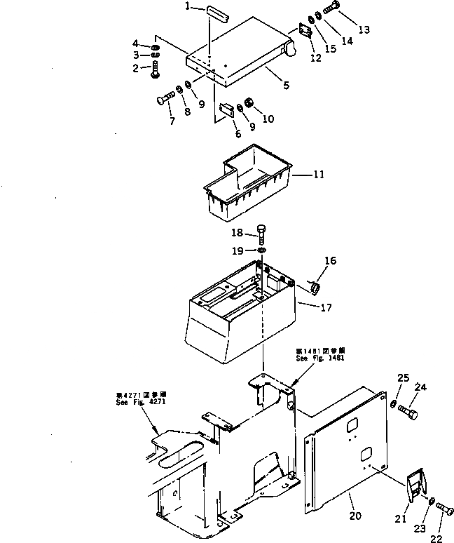
1
20Y-06-16330
HANDLE
2
01220-40510
SCREW
3
01601-20513
WASHER,SPRING
4
01641-20508
WASHER
5
20Y-06-16322
COVER
6
09452-14503
CATCHER
7
01220-40310
SCREW
8
01601-20307
WASHER,SPRING
9
01641-20508
WASHER
10
01580-10302
NUT
11
20Y-06-16341
TRAY
12
20Y-06-16350
HINGE
13
01220-40510
SCREW
14
01601-20513
WASHER,SPRING
15
01641-20508
WASHER
16
20Y-06-16581
SPRING
17
20Y-06-16312
BOX
18
01010-50820
BOLT
19
01643-30823
WASHER
20
20Y-06-16271
COVER
21
20Y-43-16250
COVER
22
01220-40408
SCREW
23
01641-20405
WASHER
24
01010-50820
BOLT
25
01643-30823
WASHER
Выбрано товаров: 0